弓形拉线

弓形拉线:又叫自身拉线,为防止水泥电杆弯曲因地形或周围自然环境的
图片尺寸750x500
【电气分享】拉线的制作图文详解
图片尺寸361x299
电缆网套,馈线吊网,拉线网套.
图片尺寸1280x960
1.5.4 弓形拉线输配电线路 公众号 编制水平拉线又称跨越拉线.
图片尺寸375x733
弓形拉线弓形拉线又称自身拉线,为防止杆塔弯曲,平衡导线不平衡张力
图片尺寸703x564
弓箭拉弓分体美猎复合反曲户外运动健身重磅合金飞镖
图片尺寸800x800
电机检查接线及调试工程量
图片尺寸538x294
直拉弓弦纯手工编织绕拉线尼龙轮胎线传统弓箭射箭50英寸通用弓弦
图片尺寸800x800
拉弓射箭初体验
图片尺寸1080x810
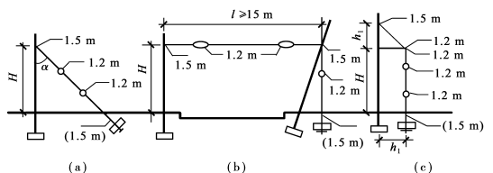
图 3-4 普通拉线安装图 3-5 水平拉线安装致敬:向本文原创者致以崇高
图片尺寸361x420
儿童弓箭玩具射击射箭运动套装双箭台直拉弓 反曲弓cs弓
图片尺寸750x1020
跨越交通要道等使用:弓形拉线主要用于受地形条件限制拉线无法后延:普
图片尺寸298x271
电力线路拉线基本知识
图片尺寸920x1303
长春微光拉弓射箭快意人生
图片尺寸500x333
德标3芯5芯7芯橙色汽车螺旋电缆线 弹弓延长线 拖车
图片尺寸1920x1440
弓箭上弦绳换线器射箭上下弦弓弦辅助器竞技反曲分体弓调弓上弓绳
图片尺寸750x521
电力拉线这样制作与安装更简洁!最通俗的方式让你了解基础知识
图片尺寸467x450
拉线的制作图文详解
图片尺寸292x193
(a)普通拉线;(b)水平拉线;(c)弓形拉线
图片尺寸547x192
弓箭箭图片
图片尺寸450x300