引风机轴承箱结构图

风机轴承箱安装使用说明
图片尺寸700x458
锅炉引风机轴承箱改进
图片尺寸447x355
厂家直供轴承箱 卧式水冷轴承座离心风机设备配件传动轴承座
图片尺寸790x561
一种密封性好的风机用轴承箱
图片尺寸2681x1756
an型引风机轴承箱推力轴承检修工艺技术
图片尺寸928x546
一种离心通风机用双侧盖轴承箱的制作方法
图片尺寸936x1000
旋涡泵轴承箱
图片尺寸1862x1578
一种设有防漏油端盖的风机轴承箱的制作方法
图片尺寸1000x749
一种稳定,安全型风机轴承箱体的制作方法
图片尺寸1000x691
引风机轴承座结构图
图片尺寸799x440
一种动调风机用可拆卸轴承箱的制作方法
图片尺寸444x294
轴承箱制造技术,风机轴承箱专利_技高网
图片尺寸1000x434
ft41101型风机轴承座
图片尺寸1171x831
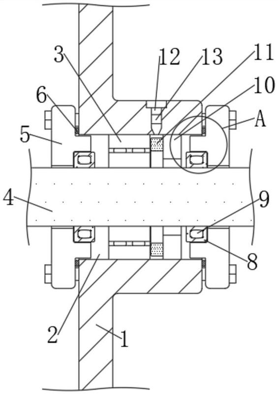
一种防泄漏风机轴承箱
图片尺寸1599x1533
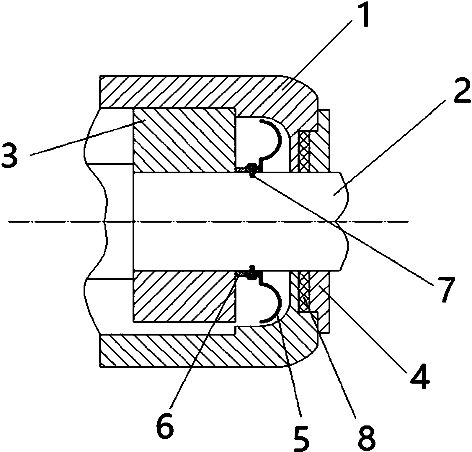
一种用于风机轴承箱的防漏油装置的制作方法
图片尺寸889x1000
一种具有强化传热结构的高温泵轴承箱制造技术
图片尺寸953x1000
一种防泄漏风机轴承箱的制作方法
图片尺寸1000x957
第二,重点放在风机轴承本身.
图片尺寸680x264
一种火电厂锅炉引风机轴承箱用散热组件的制作方法
图片尺寸444x325
所述引风机外壳一侧开设有转轴槽,所述转轴槽的内部安装有轴承,其中
图片尺寸565x800