张弦梁支撑

江西首例运用巨鲲科技装配式张弦梁钢支撑系统新工艺
图片尺寸1000x562
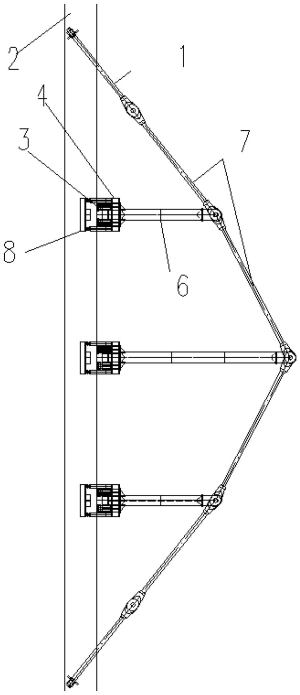
组合型基坑支撑张弦梁
图片尺寸1027x2376
"张弦梁 钢桁架支撑系统"首次在广东省应用助力工程高效施工
图片尺寸570x428
会展中心项目张弦梁安装安全专项施工方案
图片尺寸760x434
其中,他重点讲解了与同济大学联合开发的新技术——张弦梁支撑结构.
图片尺寸484x373
装配式张弦梁钢支撑系统67
图片尺寸1000x562
张弦梁端部节点.png
图片尺寸685x783
绿色建材丨新型装配式张弦梁钢支撑施工技术-福建顾林建筑研究院有限
图片尺寸1080x658
张弦钢梁施工技术研究与应用
图片尺寸439x358
78我公司施工的南京江北新区规划展示馆预应力张弦梁工程顺利完成
图片尺寸554x416
服务内容:张弦梁钢支撑基坑支护设计单位:福建岩土工程勘察研究院施工
图片尺寸800x422
宜宾职业技术学院项目游泳馆张弦梁安装完成
图片尺寸640x480
张弦梁支撑结构的制作方法
图片尺寸931x355
张弦梁钢支撑系统在基坑支护中的应用
图片尺寸1835x1246
会展中心项目张弦梁安装安全专项施工方案
图片尺寸573x252
张弦梁结构的节点设计及其极限承载力的有限元分析
图片尺寸261x357
张弦梁结构.jpg
图片尺寸760x479
巨型张弦桁架铸钢节点支撑架法安装技术
图片尺寸760x570
国际会展钢结构屋盖张弦梁施工技术交流ppt
图片尺寸590x526
10 室内装修完成完成效果张弦梁与天窗 08是然建筑摄影动态起伏的
图片尺寸1080x572