张拉限位板图片

限位板凹槽
图片尺寸706x511
预应力张拉之限位板
图片尺寸1582x989
p锚限位板
图片尺寸1199x1599
锚索如果锁定的最好附现场图片说明我给你加分
图片尺寸543x353
正常的限位板
图片尺寸1200x1600
适用于解放j6p限位板大梁车架钢板限位板弓子限位板底盘配件解放事全
图片尺寸750x750
上海嘉格限位板 高压均质机限位板 价格优惠
图片尺寸1080x1080
上海嘉格限位板高压均质机限位板价格优惠
图片尺寸1080x1080
芜湖南陵一拖二智能张拉智能张拉设备技术指导
图片尺寸600x400
晋州预应力张拉锚具夹片限位板
图片尺寸400x400
工具锚限位板 圆形锚具限位板 桥梁锚具限位板现货供应
图片尺寸750x750![[分享]单端张拉肾伸长量计算资料下载](https://imgs.wantubizhi.com/img/A1A61BAA66193547F3A6DD7D8EE527E9D3A863D2D128BF331624EB0099D05135344109A94CEB0B872CF2DA0237077C0B4B00564E65515237BE4BB63B00A156394ED86FE276481B4855228388F93F523A06982D93A6F5BD166FC1A50E9CC2A732)
[分享]单端张拉肾伸长量计算资料下载
图片尺寸600x450
工具锚限位板 - 工具锚限位板 - 预应力锚具_预应力张拉_矿用锚具
图片尺寸750x750
十堰张拉机限位板锚具优惠促销
图片尺寸600x598
预应力张拉工具锚具.限位板图片
图片尺寸790x548
早报|湖南省津市市ym15预应力张拉工锚具夹片限位板
图片尺寸500x500
攀枝花供应穿心式千斤顶应用于水电坝体高层建筑张拉施工工程
图片尺寸800x800
早报|湖南省津市市ym15预应力张拉工锚具夹片限位板
图片尺寸500x500
开封剑桥的张拉设备怎么样
图片尺寸412x314
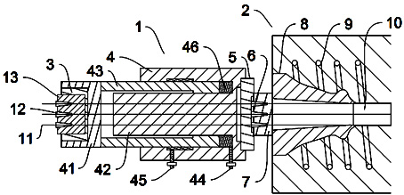
工具夹片,工具锚环,过渡套,千斤顶和限位板,钢绞线
图片尺寸454x219