弯曲度

qb∕t28032006硬质塑料管材弯曲度测量方法pdf4页
图片尺寸1045x1501
pcb弯曲度和扭曲度计算方法
图片尺寸920x994
03 弯曲度
图片尺寸480x268
弯曲度测量板
图片尺寸500x500
4,丁丁的弯曲度
图片尺寸554x333
正常的人体脊椎生理弯曲图
图片尺寸450x418
轴弯曲度测量教案
图片尺寸800x1132
平型钢化玻璃的弯曲度单位doc
图片尺寸920x1303
脊柱侧弯##健闻登顶计划
图片尺寸480x581
信伟慧诚mak-380钢化玻璃平整度检测仪也叫钢化玻璃弯曲度测量仪-山西
图片尺寸1000x492
弯曲度1
图片尺寸1080x1440
泵轴弯曲度测量
图片尺寸329x874
人体脊柱正常弯曲度大揭秘,速看 人体脊柱正常存在四个生理弯曲,分别
图片尺寸1242x1660
硅单晶片的弯曲度
图片尺寸508x197
转弯曲度
图片尺寸4128x2322
轴弯曲度测量教案
图片尺寸860x1216
脊柱弯曲度 1. 生理弯曲度
图片尺寸1080x810
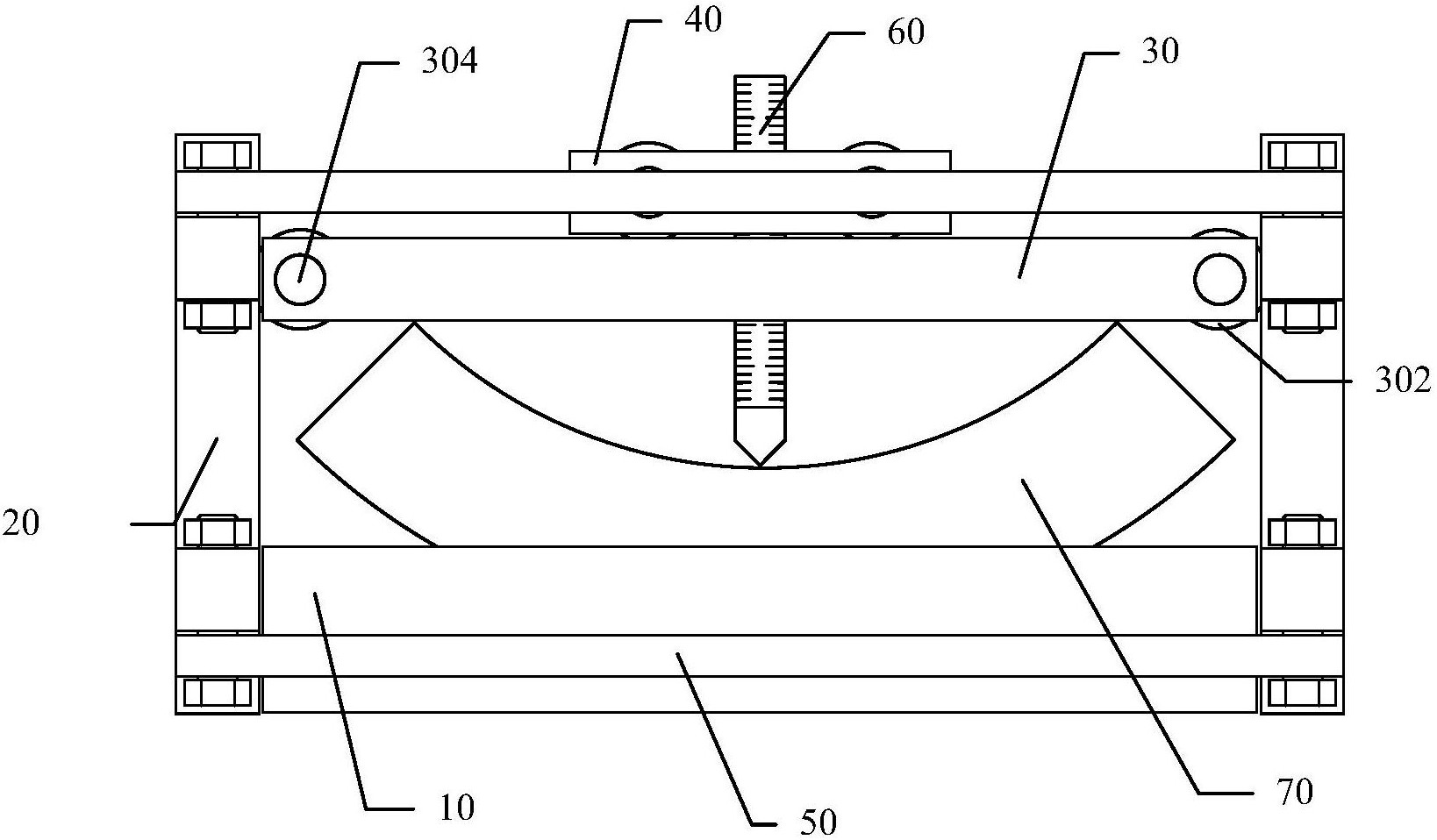
钢管弯曲度测量装置-爱企查
图片尺寸1638x958
轴弯曲度测量教案
图片尺寸860x1216
管道弯曲度检测方法,装置和存储介质与流程
图片尺寸1000x588