弹簧支吊架原理图

管道支吊架标准之4phlhzh系列恒力弹簧支吊架
图片尺寸598x784
厂家销售支架整定弹簧支吊架,汽水管道支吊架
图片尺寸616x581
弹簧支吊架是利用力学原理,将管道的位移控制在允许值的范围内的一种
图片尺寸271x443
德标恒力弹簧支吊架picture
图片尺寸727x407
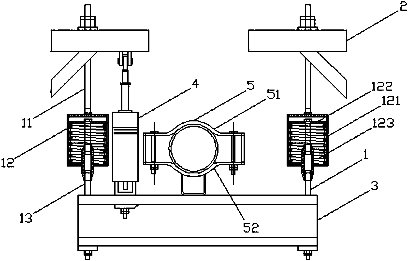
300kn弹簧支吊架试验机(30吨)
图片尺寸403x464
恒力弹簧支吊架(简称恒吊)根据力矩平衡原理设计.
图片尺寸554x529
恒力弹簧支吊架结构图
图片尺寸417x441
c4(角钢型)双u形a型弹簧吊架
图片尺寸800x560
一种重载弹簧箱支架的制作方法
图片尺寸886x1000
一种双拉杆弹簧阻尼吊架
图片尺寸1660x1064
以下提供几张典型的抗震支架安装示意抗震支吊架系统由c型成品槽钢
图片尺寸1085x646
背景技术:弹簧吊支架,根据力矩平衡原理设计,在规定的负载位移范围内
图片尺寸873x1000
一种吊篮支架系统的制作方法
图片尺寸882x1000
一种给排水管道抗震支吊架
图片尺寸1672x1318
cn103322321a_可变弹簧支吊架导向式限位结构失效
图片尺寸752x968
一种并联悬吊式可变弹簧支吊架的制作方法
图片尺寸1000x782
液压支架概述课件ppt
图片尺寸1080x810
单管侧向抗震支吊架大样图
图片尺寸2399x2571
弱电工程中抗震支架施工要求及注意事项
图片尺寸429x520
机电抗震支吊架种类及应用范围-南京曼卡特抗震支架厂家
图片尺寸644x454