弹簧预压

山东弹簧预压机厂家
图片尺寸600x450
弹簧预压机step
图片尺寸500x500
较大的压缩行程(预压 工作行程)r每压缩1mm的出力l0 自由长 黑弹簧
图片尺寸1440x1080
【原创】弹簧预压的小尝试
图片尺寸320x240
空气弹簧用应急弹簧预压工装的制作方法
图片尺寸590x591
避震器弹簧预压到底有没有用
图片尺寸1080x1440
一种分体式调节弹簧预压减震器-爱企查
图片尺寸1575x2218
按说明书数据对弹簧进行预压根据原厂参数对弹簧进行预压.2.
图片尺寸1080x810
远东卓越氮气弹簧是否需要预压深入探讨与解析
图片尺寸541x327
科研一角||金属橡胶复合隔振器的动静态性能_试验_弹簧_进行
图片尺寸552x394
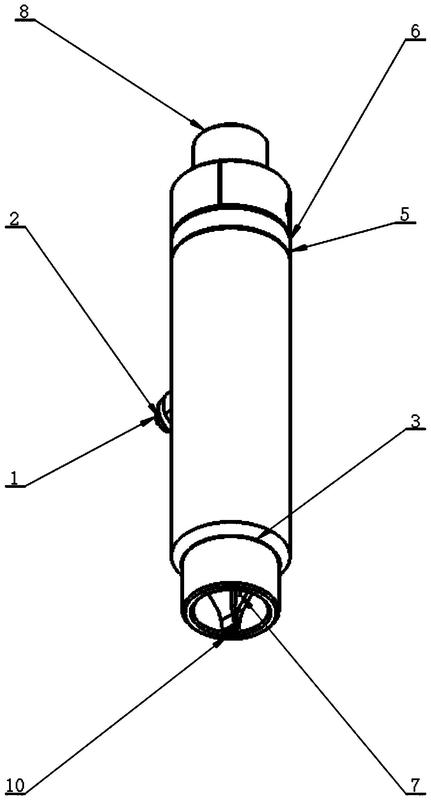
预压式空气弹簧组件
图片尺寸875x748
弹簧预压机(stp格式)
图片尺寸400x400
>=1 价格 25本厂将弹簧支吊架按照设计荷载进行整定:即弹簧预压并所定
图片尺寸750x750
一种带预压角度的扭簧安装辅具-爱企查
图片尺寸431x800
滑板类弹簧预压工装_cn201921714427.2_cn210909671u_飞镖网
图片尺寸369x443
将弹簧支吊架按照设计荷载进行整定:即弹簧预压并所定冷态荷载位置上
图片尺寸600x400
tein fz,筒身全长可调的进口避震,舒适走街,姿态完美 | 酷乐汽车|弹簧
图片尺寸660x262
tein fz,筒身全长可调的进口避震,舒适走街,姿态完美 | 酷乐汽车|弹簧
图片尺寸600x449
减震器装上前减震要先把弹簧和避震器进行组装,弹簧预压然后装上塔顶
图片尺寸4032x3024
一种采用碟型弹簧预压的导轨卸荷结构的制作方法
图片尺寸443x374