弹跳装置

绑到脚上的工具,普通人助跑用的,c字型跑步的,增高,可以弹跳,杂耍不是
图片尺寸800x800
弹跳装置结构
图片尺寸1000x621
尾部的弹跳装置,请勿对人哦
图片尺寸500x333
新型牵引弹跳装置
图片尺寸356x360
尾部弹跳装置
图片尺寸1000x611
【web3d纳金网】弹跳龙全方位展示
图片尺寸448x252
新型牵引弹跳装置
图片尺寸445x450
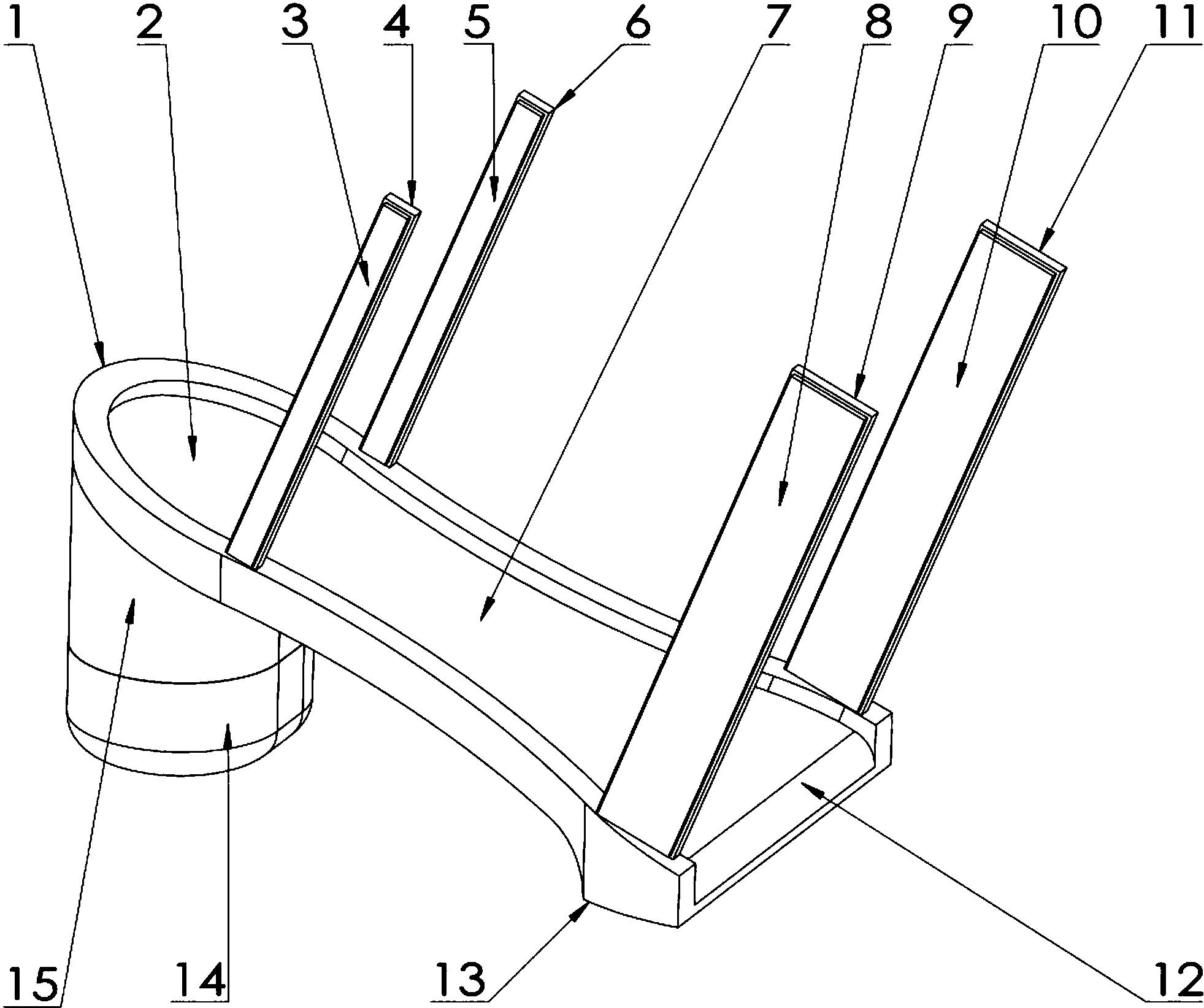
一种体育用弹跳训练装置
图片尺寸1963x1643
儿童蹦蹦床家用蹦床室内小型跳跳床成人运动健身蹦床弹跳床弹簧床
图片尺寸800x800
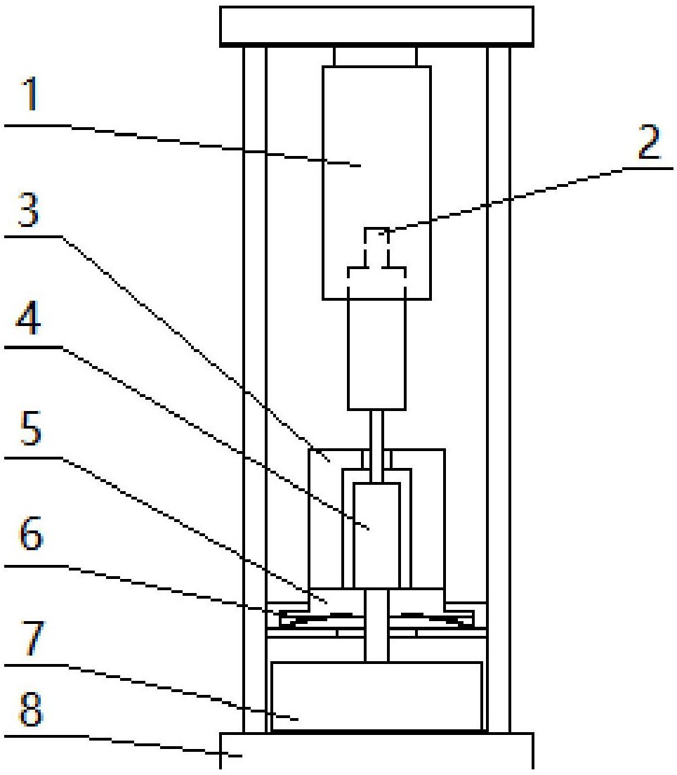
一种篮球运动弹跳力训练装置
图片尺寸382x467
一种仿生腿式弹跳实验装置
图片尺寸345x443
调整式弹跳装置
图片尺寸360x263
弹跳车的弹跳装置的制作方法
图片尺寸1000x808
敏捷弹跳机器人salto
图片尺寸700x276
一种弹跳装置的制作方法
图片尺寸226x443
一种弹跳训练装置
图片尺寸424x351
弹跳车的弹跳装置的制作方法
图片尺寸400x1000
cn103691098b_弹跳装置失效
图片尺寸885x1000
断路器防弹跳装置-爱企查
图片尺寸964x1103
一种篮球运动员弹跳训练装置的制作方法
图片尺寸1000x618