径向载荷

轴承在工作(按一定的转速转动)时,具有承受径向载荷或轴向载荷的能力.
图片尺寸500x294
db,dc型减速机输出轴轴伸许用径向载荷jb/t9002-1999
图片尺寸711x967
机械设计表当量动载荷的径向动载荷系数x和轴向动载荷系数y
图片尺寸920x1302
5 角接触球轴承和圆锥滚子轴承的径向载 荷 fr与轴向载荷fa的计算 lh
图片尺寸1080x810
承载方向 极限转速 允许角偏差 主要特性和应用 能承受很大的径向载荷
图片尺寸1080x810
径向推力轴承的径向载荷r与轴向载荷a的计算
图片尺寸920x1303
减速器低速(蜗轮轴)轴轴伸许用径向载荷fr
图片尺寸650x372
为一正装30212圆锥滚子轴承,轴向外载荷 fa=500n,径向载荷fr1=6000n
图片尺寸1080x810
齿轮减速电机轴伸径向载荷,轴向载荷
图片尺寸650x351
t=1),动载荷系数f p=1.2,此轴承受径向载荷r=10kn,轴向载荷a=3kn.
图片尺寸332x246
p>轴向指的是沿轴的轴线方向,径向与之垂直是沿轴的半径方向.
图片尺寸544x401
dby,dcy硬齿面减速机输出轴轴伸许用径向载荷
图片尺寸200x189
自然科学 化学 第16章 滚动轴承ppt 向心轴承:主要承受径向载荷fr
图片尺寸1080x810
深沟球轴承主要承受径向载荷,也可同
图片尺寸990x953
角接触球轴承在承受纯径向载荷的同时,由于滚动体载荷作用线与径向
图片尺寸777x282
深沟球轴承主要承受径向载荷,也可同时承受径向载荷和轴向载荷.
图片尺寸544x471
轴承径向载荷系数表吐血奉献史上最最全的水泵故障分析牛人总结
图片尺寸630x724
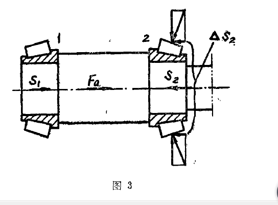
当角接触轴承受径向外载荷 fr作用且在外圈支反力作用下处于平衡时(图
图片尺寸418x244
轴承ppt 机械设计 二,对开式径向滑动轴承 1,作用:主要承受径向载荷
图片尺寸1080x810
主轴及传动轴轴承支承部件的便捷设计 对于只受径向载荷的深沟球轴承
图片尺寸1430x2024