徽商银行信用卡电话

徽商银行信用卡提额技巧是什么
图片尺寸719x453
常见问题分类
图片尺寸568x326
激活徽商信用卡 - 其它银行讨论区 - 我爱卡论坛
图片尺寸1488x1984
徽商银行信用卡实体卡激活直播
图片尺寸1536x2048
徽商银行信用卡可以提临时额度了
图片尺寸1080x2340
徽商银行宿州开卡
图片尺寸1512x2016
徽商银行秋招我真的栓q
图片尺寸1080x1439
独家丨全国100家商业银行财富管理能力排名报告2023下半年
图片尺寸646x960
徽商银行atm,电话,路线,公交,地址,地图,预定,价格,团购,优惠,徽商
图片尺寸960x1280
徽商银行信用卡有效期 徽商银行信用卡有效期到了怎么办
图片尺寸336x322
感谢坛子里的兄弟,徽商汽车卡6千曲线3万6,有图 - 其它银行讨论区
图片尺寸1034x1838
徽商银行已寄卡
图片尺寸1080x1920
徽商银行信用卡还款方式
图片尺寸510x315
徽商银行注册大概1个多月了撸完新客的立减金就卸了昨天客服打电话说
图片尺寸1030x1876
徽商银行阜阳分行网点服务监测2月快讯
图片尺寸1656x2016
蒙商银行信用卡25日广告页面虽然包商银行的名称和标志退出了历史舞台
图片尺寸437x1000
晋商银行,郑州银行,杭州银行,上海农商银行,青岛银行,齐鲁银行,徽商
图片尺寸646x3520
我大徽商被你们撸废了 - 其它银行讨论区 - 我爱卡论坛
图片尺寸1080x2160
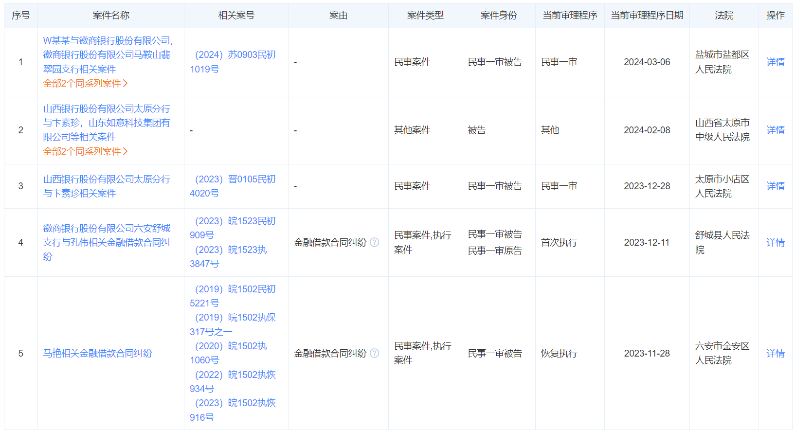
据统计,徽商银行自2021年以来以被告身份涉案136起,与"信用卡纠纷"
图片尺寸1634x884
徽商银行信用卡如何兑换积分徽商银行信用卡积分商城
图片尺寸500x1082