惰轮传动

惰轮 惰轮是在两个齿轮中间,起到传递动力的作用,但不会改变两边齿轮
图片尺寸1080x576
p>惰轮是指在两个不互相接触的传动齿轮中间起传递作用的齿轮,同时跟
图片尺寸491x404
p>惰轮是指在两个不互相接触的传动齿轮中间起传递作用的齿轮,同时跟
图片尺寸541x459
截割部传动系统 三轴组件 二轴组件 一轴组件 行星机构 七轴组件 惰轮
图片尺寸1080x810
惰轮.
图片尺寸400x361
车鲁班 超清动图解析,手动挡是如何工作的
图片尺寸500x281
3,混合轮系传动比计算 定轴轮系,周转轮系,转 化轮系,惰轮,±和
图片尺寸1080x810
惰轮:惰轮是输入轮和输出轮之间的一个齿轮,用于改变输出轴传动方向
图片尺寸532x333
lgp d5h 前惰轮传动惰轮惰轮总成
图片尺寸750x828
齿轮箱设计惰轮磨损原因分析及解决方法
图片尺寸546x233
从机械上剖析乐高鱼鹰42113究竟香不香?
图片尺寸768x432
(2)检查张紧轮和惰轮转动是否自由平滑并检查其间隙或噪声,如有必要则
图片尺寸1699x804
机械五金 传送带 惰轮是在一个驱动系统中不发挥传动作用的同步带轮或
图片尺寸365x453
27/43齿轮副 e.f.挂轮 4.5.惰轮 8.传动
图片尺寸683x490
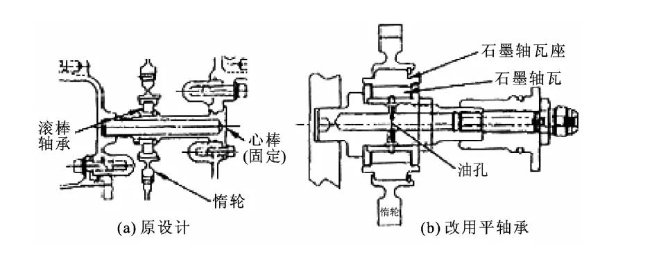
图8 pw4000传动离心通风器的中间惰轮防止作用于滚珠轴承上的轴向负荷
图片尺寸963x387
截割部传动系统 惰轮组件 o形圈 齿轮 挡圈 轴承 螺钉 垫圈 垫圈 o形
图片尺寸1080x810
直接档传动惰轮惰轮的作用只是改变转动方向并不能改变传动比,所以称
图片尺寸734x347
免费文档 所有分类 机械基础-单元测试 2,一对外啮合的齿轮传动,两轮
图片尺寸601x521
3d打印机配件 gt2惰轮带宽6mm传动皮带轮2gt同步带轮电机传动铝轮
图片尺寸750x750
多体动力学模块更新
图片尺寸1200x900