惰轮结构

惰轮 惰轮是在两个齿轮中间,起到传递动力的作用,但不会改变两边齿轮
图片尺寸1080x576
宝熊路亚纺车轮灰狼二代鱼线轮无间隙金属轮正品海水斜口小型渔轮
图片尺寸793x1005
装置以及旋转式阻尼器,该旋转式阻尼器具有带限位结构的第一部分和
图片尺寸2732x1972
普通v带轮的结构
图片尺寸467x461
惰轮
图片尺寸1527x922
一种用于健身车的二级传动双惰轮结构-爱企查
图片尺寸800x760
image
图片尺寸1000x888
间歇运动机构ppt
图片尺寸1080x810
cn103850787a_一种发动机附件惰轮总成有效
图片尺寸1000x481
结构图.jpg
图片尺寸750x730
12-2槽轮机构ppt
图片尺寸1080x810
cn104129229b_万向轮有效
图片尺寸1000x996
lgb230与220出力装置性能结构比较 惰 轮轴承(圆锥滚子) 惰轮
图片尺寸1080x810
一种建筑手推车万向轮结构的制造方法与工艺
图片尺寸997x1000
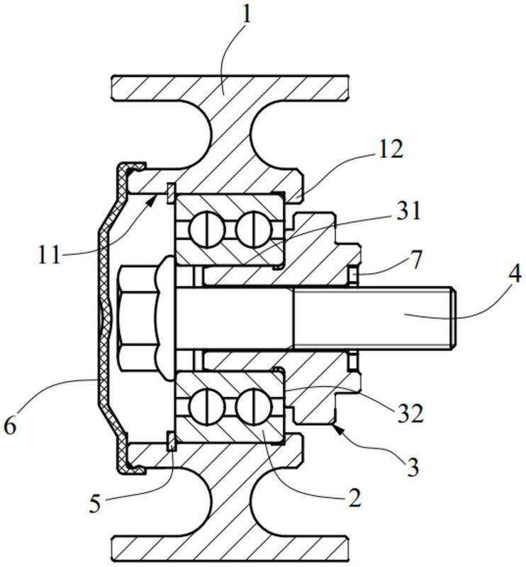
一种发动机前端轮系惰轮结构和车辆-爱企查
图片尺寸742x800
一种惰轮组件的制作方法
图片尺寸368x393
金属线
图片尺寸790x482
如何判断真正的防海水渔线轮
图片尺寸1123x622
一种新型结构的排线筏钓渔轮制造技术
图片尺寸1000x630
一种放线顺畅的封闭式渔轮的制作方法
图片尺寸1000x889