戴手表的手简笔画

手戴智能手表与来电手画轮廓涂鸦图标照片
图片尺寸300x300
手持智能手表可穿戴的轮廓
图片尺寸910x1200
带着手表的手简笔画
图片尺寸440x367
素描与智能手表可穿戴式技术手插画-正版商用图片0w3dr5-摄图新视界
图片尺寸700x700
手与手表线图标插画-正版商用图片0ws792-摄图新视界
图片尺寸700x700
彩色手腕手表简笔画图片
图片尺寸220x180
手触智能手表可穿戴的轮廓
图片尺寸940x1200
的智能手表的制作方法个性表带简笔画画个表‖宜家表diy仪表最新专利
图片尺寸500x500
超简单简笔画教程呐我的新手表好看吗6002
图片尺寸1080x1276
智能手表, 平板电脑, 笔记本电脑, 计算机从四面图标集的矢量图形插画
图片尺寸300x300
电话手表的简笔画
图片尺寸500x535
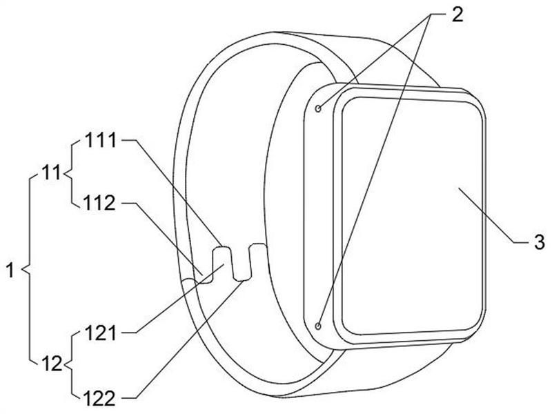
一种可单手佩戴使用的智能手表-爱企查
图片尺寸800x600
ai怎么绘制 strong>简笔画 /strong>效果的手表图标?
图片尺寸450x221
带着手表的手简笔画
图片尺寸572x500
人物简笔画 戴激光手表的人物简笔画图片
图片尺寸555x566
手表效应——教育方法要一致
图片尺寸640x399
手表简笔画 手表简笔画简单又漂亮
图片尺寸491x417
花钟怎么简笔画
图片尺寸500x333
手表 儿童高清图片插画图片_手表 儿童高清图片插图_插画图片素材库
图片尺寸612x410
手表简笔画蓝色简约画法
图片尺寸1920x1080