手制动机

手制动机
图片尺寸500x400
nsw型手制动机使用方法
图片尺寸648x405
处理检衡车手制动机松不开
图片尺寸2000x2667
处理检衡车手制动机松不开
图片尺寸2000x2667
第一节货车手制动机
图片尺寸550x405
nsw型手制动机防意外缓解装置(配音版)
图片尺寸1728x1080
轨道列车手制动机
图片尺寸482x220
tb/t 2978-2016 铁道货车手制动机 151134958-10 中国建筑工业出版社
图片尺寸800x1067
一种手轮操控稳定的手制动机-爱企查
图片尺寸1928x1775
三一重工挖掘机专用车手制动器gj1112a
图片尺寸5472x3648
手制动装置
图片尺寸535x634
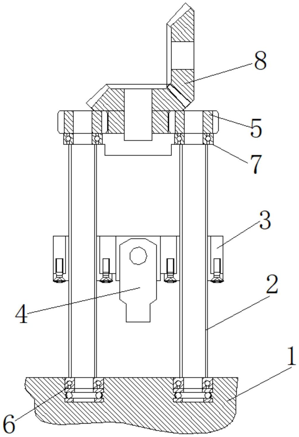
一种防反转操作的手制动机-爱企查
图片尺寸2375x1615
nsw型手制动机缓解性能改进
图片尺寸600x356
师傅向徒弟讲解手制动机使用方法
图片尺寸1600x1200
图4为李建谋拧紧人机制动机 关贺贺摄
图片尺寸550x367
nsw手制动机_手柄_货车_铁路
图片尺寸600x496
重庆车辆医生张裕的第28个劳动节
图片尺寸1080x720
干部正在向大家讲解手制动机的使用时机,方法及原理.
图片尺寸1600x1200
双杠手制动机-爱企查
图片尺寸1023x1493
【adams实例】排除列车手制动机反转制动隐患
图片尺寸884x369