手动剃须刀简笔画

安全剃须刀
图片尺寸1600x2398
几步学会画剃须刀,剃须刀的线描简笔画
图片尺寸640x1280
剃须刀的简笔画
图片尺寸416x792
剃须刀机图标轮廓风格
图片尺寸1100x1100
产品设计手绘剃须刀练习及过程
图片尺寸1080x1439
剃须刀
图片尺寸552x645
剃须刀
图片尺寸256x256
剃须刀手绘练习
图片尺寸4964x7020
刮胡刀简笔画怎么画
图片尺寸900x600
叶片矢量图孤立在白色上.剃须刀轮廓风格设计,为网页和应用设计.
图片尺寸1100x1100
飞利浦剃须刀简笔画
图片尺寸424x824
剃须刀图标
图片尺寸964x1200
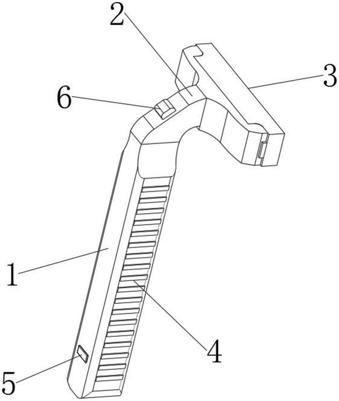
一种具有杀菌功能的手动剃须刀-爱企查
图片尺寸676x800
剃须刀手绘练习
图片尺寸3310x4680
剃须刀手绘练习
图片尺寸3310x4680
剃须刀(ss135)
图片尺寸644x1402
剃须刀手绘练习
图片尺寸3310x4680
剃须刀(ss135)
图片尺寸644x1396
剃须刀手绘练习
图片尺寸3310x4680
工业设计手绘每日结构案例剃须刀手绘分享
图片尺寸3612x2257