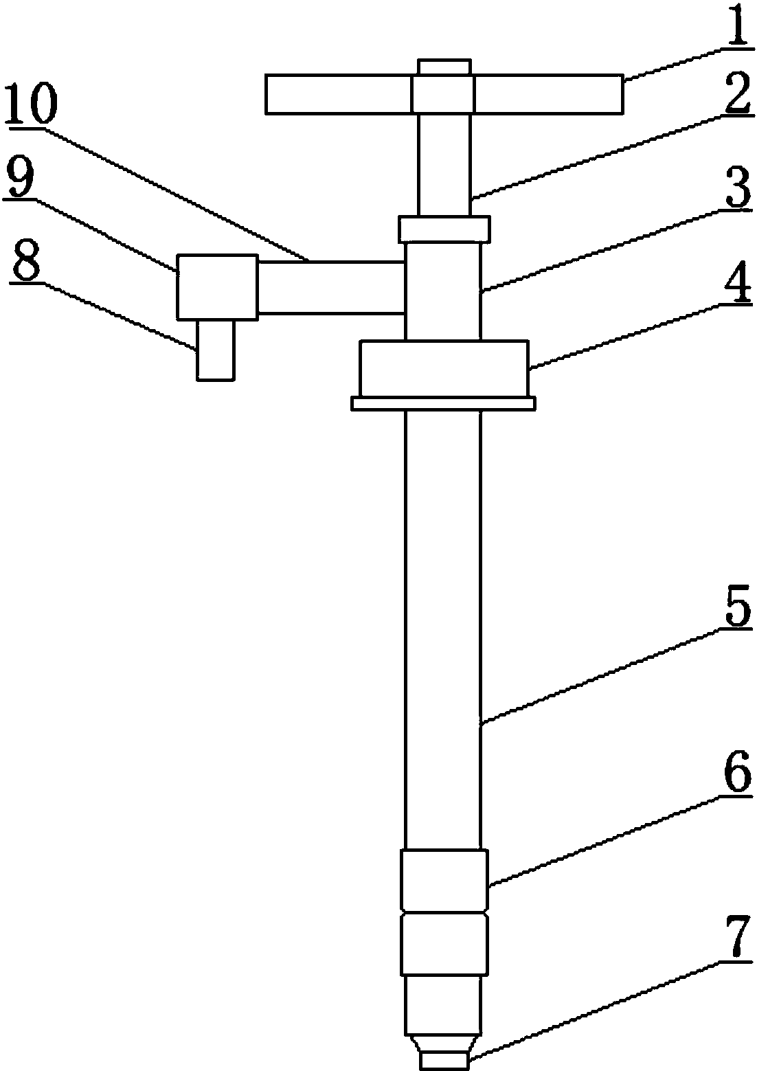
手动抽水泵的机械简图

一种具有加热功能的家用手动抽水泵的制作方法
图片尺寸1000x752
快速手动液压泵
图片尺寸800x1071
按压式(手压式)抽水泵的原理
图片尺寸1654x2339
syl手动试压泵
图片尺寸505x631
gs-25,38型手摇泵
图片尺寸404x504
手动抽水泵简笔画
图片尺寸678x500
手动抽水泵的制作方法
图片尺寸711x1000
超高压手动液压泵
图片尺寸600x964
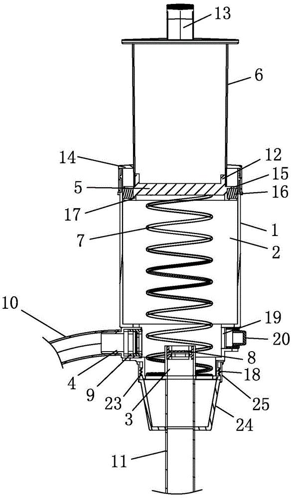
cn209244746u_一种手动抽水泵有效
图片尺寸586x1000
手动抽水泵
图片尺寸1354x1903
手动抽水泵简笔画
图片尺寸500x648
一种高压双级手动液压泵的制作方法
图片尺寸739x1000
式手摇泵,bs-25y型手摇泵,bs便携式手摇泵,bs手摇泵-永嘉县海洋水泵厂
图片尺寸431x486
一种具有吸附功能的手动抽水泵
图片尺寸1102x1559
一种方便安装的手动小水泵制造技术
图片尺寸931x1000
手动抽水泵简笔画
图片尺寸500x414
u 申请公布日 1991-04-17 分类号 f04b51/00 分类 液体变容式机械
图片尺寸800x964
一种饮水机用手动抽水泵的制作方法
图片尺寸639x1000
手动抽水泵简笔画
图片尺寸320x823
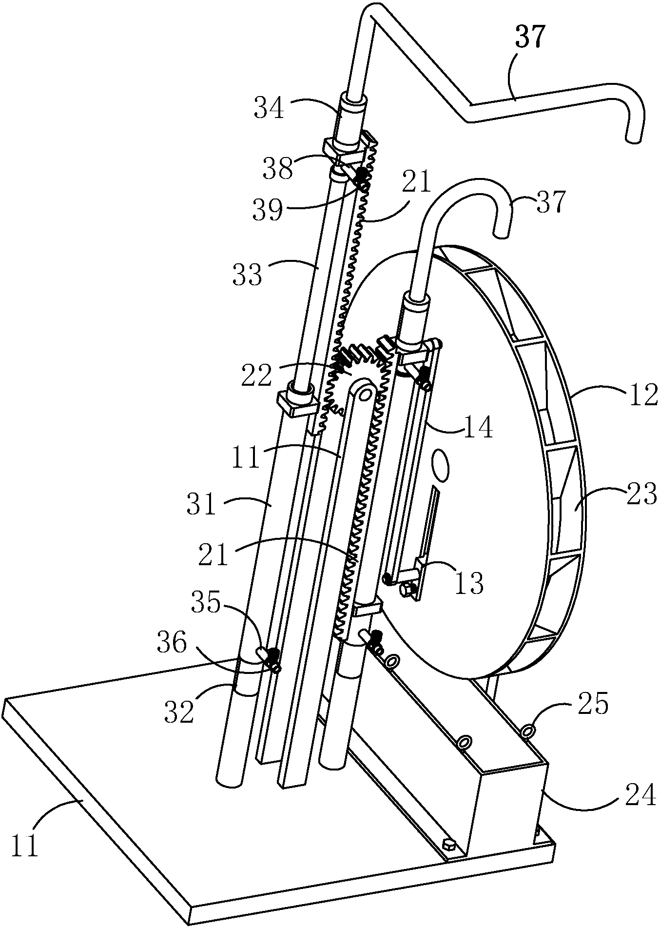
手动液压泵制造技术
图片尺寸1000x817