手折正弦

手折正弦其他人物相关
图片尺寸600x338
学琴,折指问题必须解决,四个简单实用的方法!
图片尺寸1080x1080
手折正弦
图片尺寸1240x1754
八年级听课记录 老师的作业 数学,政治,音乐,语文4个 写的手疼
图片尺寸960x1280
谐波和间谐波:频率是基波整数倍表现为正弦的电流或电压称之为谐波.
图片尺寸598x331
上海名校位育中学2024年高一下3月月考数学试卷详解
图片尺寸1654x2339
初三数学丨锐角三角函数丨代几难点
图片尺寸1080x1440
可靠性测试介绍目的必要性项目意义
图片尺寸750x1500
我穿成富二代舔狗男配,因女主恳求为男主捐肾,最终破产饿死街头
图片尺寸640x960
电能质量监测装置的作用有哪些
图片尺寸639x423
coloros流畅新体验细节动效全面升级侧滑退出更加流畅自然
图片尺寸534x400
高中数学:正弦与正弦函数(知识点)
图片尺寸1440x1920
变频器输入是三相正弦交流电,经过6个二极管构成的三相整流桥后,就
图片尺寸1080x826
请查收伺服电机概念龙头股票共8只值得珍藏2024419
图片尺寸750x400
gpt-4o定义真ai教学
图片尺寸1080x608
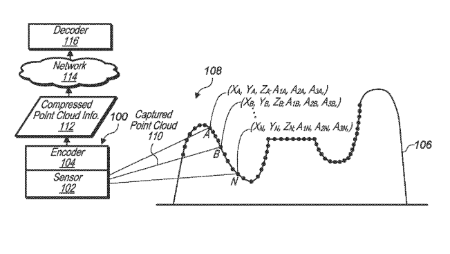
2024年04月20日美国专利局新申请ar/vr专利摘选
图片尺寸651x367
哪些是嵌入式计算机板块股票名单大梳理202443
图片尺寸750x400
触发的侧滑退出,上滑退出等场景,新版coloros基于全新的对数正弦曲线
图片尺寸700x933
国内人形机器人团队分析
图片尺寸578x433
线上展厅!创新珠海科技奖获奖项目系列介绍(二)
图片尺寸500x375