手提式播种器分解图片

手提式玉米播种器
图片尺寸672x504
播种器玉米大豆花生播种机栽苗播点播器点播机手提式玉米播种机器
图片尺寸800x800
新型手提式播种机玉米大豆花生棉花菜籽播种器/点播机(厂家批发)
图片尺寸750x1189
出售二手手提式自动空穴报警电子播种施肥器
图片尺寸376x450
人力手提式点播器
图片尺寸622x763
包邮厂家直销新型手提式施肥播种器玉米大豆花生棉花播种机点播机
图片尺寸750x1109
人力式蔬菜播种机 由机架,导向轮,镇压轮,种子箱,排种器,开沟器,覆土
图片尺寸698x504
手提式手动玉米播种器播种神器种玉米神器点播机黄豆一体机手推式
图片尺寸800x800
手提式施肥播种器高粱大豆播种机使用方法澜海
图片尺寸400x400
手推式花生播种机的制作方法
图片尺寸1000x831
便携式手提式施肥播种机玉米播种器大豆花生棉花播种器种花生农具
图片尺寸620x950
手动玉米播种器硬地点播机花生豆角播种机高粱施肥黄豆手推式小型新款
图片尺寸990x1533
农资园艺点播器农用点播神器种植播种器多功能手提式施肥器玉米花生
图片尺寸800x800
用于精细化播种的便携式播种器的制作方法
图片尺寸591x1000
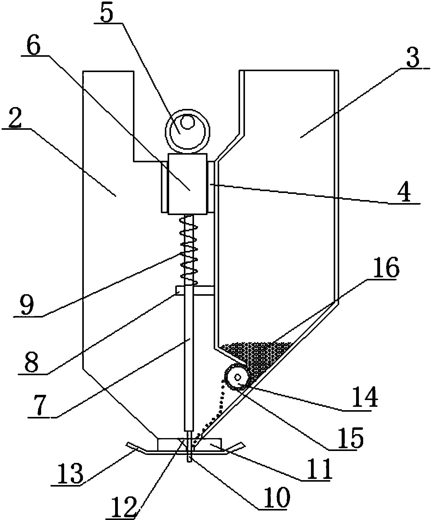
cn109121587a_一种农业手推式播种装置在审
图片尺寸1404x1695
滚轮玉米播种机精播播种器新款农用花生大豆多功能小型手推人工种lan
图片尺寸990x1268
一种手推式小粒种子播种机
图片尺寸996x1000
农用工具手提式玉米播种器多功能播种机械手动花生需选择花生专用
图片尺寸800x800
手推式蔬菜播种机精播多功能大棚白菜播种器药材小颗粒种子种植机汽油
图片尺寸750x987
人工手提播种机手提式玉米点播机
图片尺寸750x1011