扑翼机原理图
 - 其飞行机理一直吸引着科研人员的极大兴趣,人们对昆虫扑翼飞行原理的图片尺寸1000x761
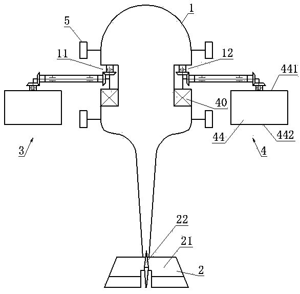
 - 一种双节主翼仿生扑翼机图片尺寸1000x622
 - 扑翼是一种模仿鸟类和昆虫飞行, 基于仿生学原理设计制造的新型飞行器图片尺寸433x252
 - 一种三自由度扑翼制造技术,扑翼机专利_技高网图片尺寸1000x550
 - 一种可快捷更换动力的扑翼机构及动力更换方法-爱企查图片尺寸1865x843
 - 扑翼机的仿鸟类与蝙蝠的可折叠机翼图片尺寸2233x1536
 - cn101249887a_一种副翼旋转收放式扑翼装置失效图片尺寸2012x1733
 - 背景技术:扑翼机是一种模仿鸟类和昆虫飞行,基于仿生学原理设计制造的图片尺寸981x862
 - 简单扑翼机运动演示图片尺寸448x252
 - 一种小型平拍翼无人扑翼机图片尺寸586x574
 - 一种具备展翅能力的扑翼机构的制作方法图片尺寸1000x707
 - how ornithopters fly图片尺寸1065x692
 - 一种仿蝙蝠扑翼飞行器的翅膀拍动机构图片尺寸2404x1907
 - how ornithopters fly图片尺寸733x468
 - 一种机翼尾翼融合的扑翼机的制作方法图片尺寸1000x563
 - 一种单曲柄双摇杆机构的扑翼飞行器图片尺寸2744x1707
 - 基于仿生学原理的扑翼机和常规飞机相比,仅用一套图片尺寸570x403
 - cn112046742a_一种具备展翅能力的扑翼机构在审图片尺寸1126x797
 - 球面曲柄摇杆式仿生扑翼机的制作方法图片尺寸1000x560
 - 扑翼机的仿鸟类与蝙蝠的可折叠机翼的制作方法图片尺寸689x1000