扳手cad

技能赛试题(绘制扳手)答案及画法
图片尺寸697x515
cad扳手平面图画法主要用到圆弧的一些知识方法简单
图片尺寸1090x727
2)扭矩要求,外力卸载后,扳手不得出现会影响使用性能的永久性变形和
图片尺寸595x302
史上最全的手动工具---扳手知识汇总
图片尺寸600x232
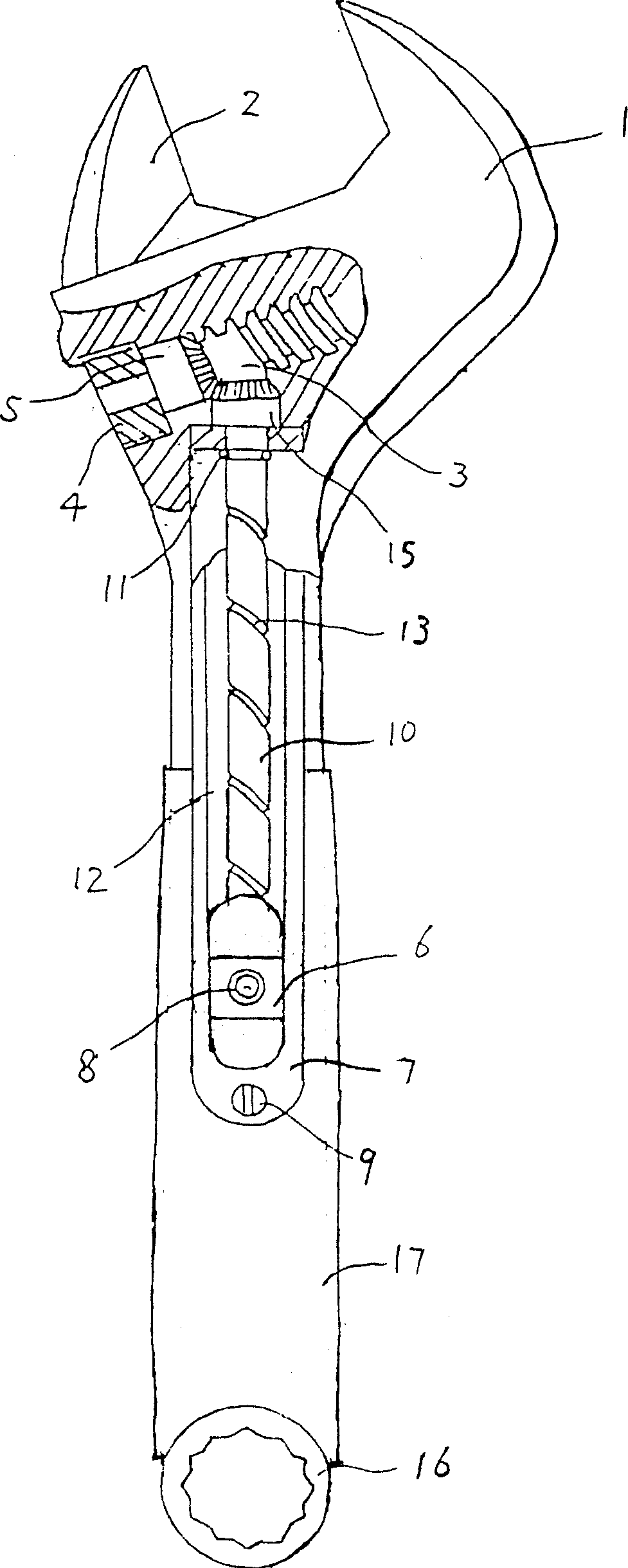
快速活络扳手
图片尺寸977x2438
快速活络扳手
图片尺寸488x1142
cad利用六边形与圆弧画扳手
图片尺寸668x375
长沙力锋供应 进口五金工具 德国达威力牌stahlwille 开口扳手
图片尺寸784x624
口电动扳手|电动扳手原理|进口电动扳手厂家
图片尺寸640x391
『solidworks实例.3』活动扳手
图片尺寸640x554
内六角扳手有什么型号怎么确定内六角扳手规格型号
图片尺寸660x299
cad不用插件怎么将pdf完美导入
图片尺寸789x761
开拓exploit短柄棘轮棘轮扳手819mm迷你两用快速棘轮8mm现货
图片尺寸990x1320
常用装配工具_扳手
图片尺寸232x128
洛阳cad视频教程二维图快捷键使用案例扳手
图片尺寸568x320
史上最全的手动工具---扳手知识汇总
图片尺寸600x351
图片浏览
图片尺寸239x165
圈内掌握cad绘图技巧七天的工作量一天完成
图片尺寸640x392
常用装配工具_扳手
图片尺寸275x161
防爆双头呆扳手9件套
图片尺寸220x120