扳手cad图纸

cad扳手平面图画法主要用到圆弧的一些知识方法简单
图片尺寸1090x727
技能赛试题(绘制扳手)答案及画法
图片尺寸697x515
cad利用六边形与圆弧画扳手
图片尺寸668x375
2)扭矩要求,外力卸载后,扳手不得出现会影响使用性能的永久性变形和
图片尺寸595x302
史上最全的手动工具---扳手知识汇总
图片尺寸600x232
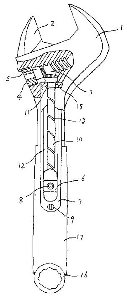
快速活络扳手
图片尺寸488x1142
『solidworks实例.3』活动扳手
图片尺寸640x554
内六角扳手有什么型号怎么确定内六角扳手规格型号
图片尺寸660x299
常用装配工具_扳手
图片尺寸236x143
长沙力锋供应 进口五金工具 德国达威力牌stahlwille 开口扳手
图片尺寸784x624
再聊机械工程师的固执_定位_扳手_内六角
图片尺寸551x613
洛阳cad视频教程二维图快捷键使用案例扳手
图片尺寸568x320
开拓(exploit)两用棘轮扳手开口梅花扳手自动扳手 8mm 现货
图片尺寸990x1320
常用装配工具_扳手
图片尺寸275x161
史上最全的手动工具---扳手知识汇总
图片尺寸600x351
proe装配活动扳手及其仿真
图片尺寸640x357
防爆双头呆扳手9件套
图片尺寸220x120
公差与配合100问机械设计了应该了解
图片尺寸588x320
l型内六角扳手单个平头内六角螺丝刀铁黑内六角方六棱6角扳手套装 2mm
图片尺寸790x1508
国外机械工程师演示万向节原理看懂了吗
图片尺寸411x371