批头图纸

sh5起子头cad图
图片尺寸528x363
异形螺丝批头加工
图片尺寸1102x715
十字批头|批咀_批头|批咀_苏州市固德电子工具有限公司
图片尺寸660x303
日本安力士牌(anex)进口内六角批头acbp-球形风批 球型批嘴 球形螺丝
图片尺寸990x369
anex日本安力批头apmd1065
图片尺寸402x360
35mm)*75mm梅花风批头 梅花气动起子头
图片尺寸482x304
锐壹39101气动直式风批3/8方头小风扳螺丝刀起子改锥
图片尺寸1363x1920
起子sh5(5mm)fs单头十字风批头 整包价 配日本电动起子头50-200mm
图片尺寸548x325
cn202169558u_枪式气动风批失效
图片尺寸1229x1163
十字批头双头电动螺丝刀头风批咀气动起子改锥强磁性ph2手电钻嘴
图片尺寸528x240
电批头
图片尺寸628x621
30榔头图纸最新整理
图片尺寸920x1300
尼高necal批头
图片尺寸300x300
一种气动风批的制作方法
图片尺寸1000x913
一种气动风批的制作方法
图片尺寸1000x987
一种气动风批的制作方法
图片尺寸1000x936
标准扇形喷嘴 - 通用五金配件图纸 - 沐风网
图片尺寸820x1160
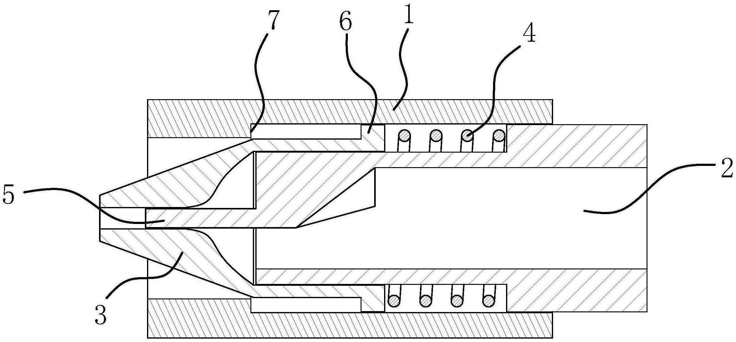
cn212021588u_一种注塑机注塑头有效
图片尺寸2378x1107
a55中国台湾日绅铣头
图片尺寸2203x1410
英制5c夹头套装5c英制筒夹5c圆孔夹头5c四方孔夹头5c六方孔
图片尺寸1600x1132