抛光膏原理

国内化学机械抛光(cmp)设备领先企业华海清科登陆a股科创板
图片尺寸645x221
玉石抛光,专业的玉石抛光膏
图片尺寸720x960
磁流变抛光和磁流变效应的原理示意图
图片尺寸366x372
罗恩磨粒流抛光机原理 罗恩磨粒流抛光机的原理基于磨粒在流体的携带
图片尺寸418x339
半导体抛光原理示意图
图片尺寸1036x844
电化学抛光的基本原理与特点,抛光方式以及影响因素_第1页
图片尺寸1860x2631
图文详解机械设计中常用的6种抛光方法
图片尺寸640x292
图文详解机械设计中常用的6种抛光方法 - 知乎
图片尺寸1269x823
气相二氧化硅与cmp化学机械抛光不能说的秘密(一)
图片尺寸640x345
保养之前1309322022092423161快速出光结晶增亮瓷砖划痕修复抛光膏
图片尺寸824x1508
工艺成本:电解抛光整个过程基本由自动化完成,所以人工费用很低.
图片尺寸737x490
擦铜膏德国autosol金属擦亮膏擦铜膏打磨膏研磨膏抛光膏除锈膏抛光蜡
图片尺寸990x1533
p data-id="gn13wpmdnb"> 曲面磁流变抛光加工原理如概述图所示.
图片尺寸1036x988
二,电解抛光设备原理
图片尺寸359x209
低场核磁弛豫技术用于cmp抛光液的原位分散性检测
图片尺寸563x373
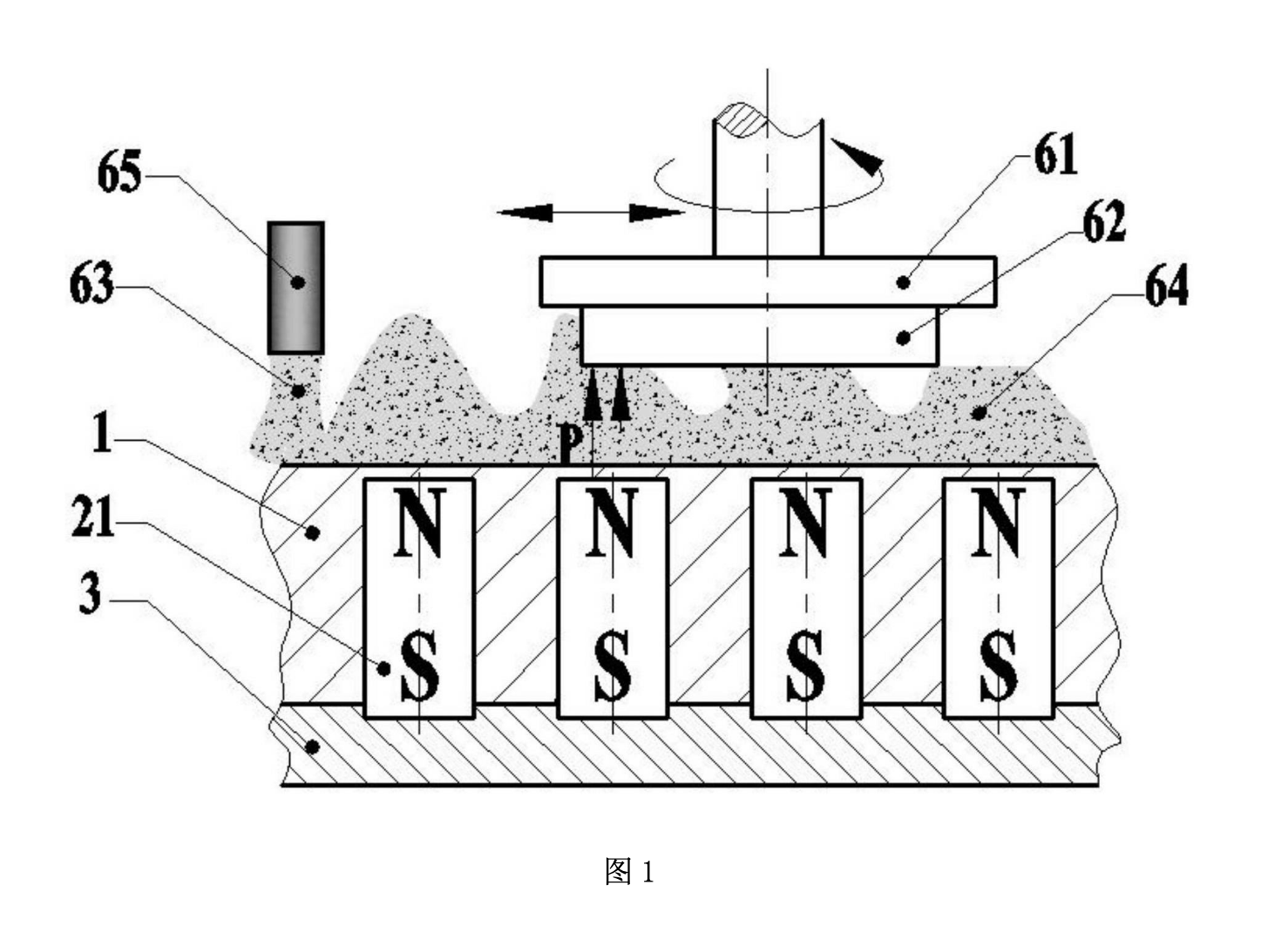
磁流变柔性抛光垫的动态磁场自锐抛光装置及其抛光方法
图片尺寸1478x1086
研磨砂金属磨具镜面抛光膏绿碳化硅不锈钢研磨膏 - 爱企查
图片尺寸750x1300
曲轴抛光工作原理及组成
图片尺寸1564x2002
斯曼克磨粒流为叶轮叶片抛光,视频来袭!
图片尺寸801x469
用了这个石英石抛光膏,大理石和花岗岩的表面都变得更加光滑了!
图片尺寸800x800