抱杆倒装法

七, 避雷针接地与抱杆等金属之间的绝缘,间隔处理方法:用绝缘 材料
图片尺寸640x480
倒装法施工
图片尺寸404x313
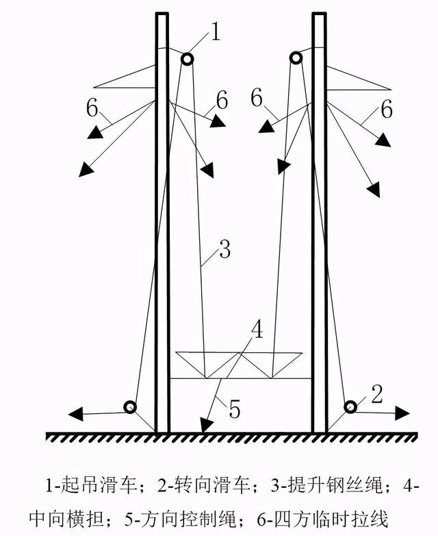
立管倒装法示意图
图片尺寸1202x595
贵阳抱杆 成都抱杆 重庆抱杆 2014年价格
图片尺寸569x563
基站抱杆安装规范要求-1
图片尺寸665x885
人字抱杆组立电杆的施工方案《汉峰电工》
图片尺寸400x400
铝合金抱杆主营项目
图片尺寸1080x1441
搭建了一套成熟的起吊系统,而这套系统中的核心部件叫做:—— 抱杆!
图片尺寸670x362
电力资质 金属抱杆 电力承装三级pj
图片尺寸750x583
双摇臂抱杆
图片尺寸464x637
增高架抱杆桅杆
图片尺寸1080x1440
金属抱杆/电力二级承装设备
图片尺寸500x500
通信抱杆哪家好 乾源塔业厂家安全耐用
图片尺寸450x662
供应铝合金管式人字抱杆 铝合金管式人字抱杆价格
图片尺寸670x445
抱杆图片抱杆规格铁抱杆铝抱杆抱杆参数
图片尺寸560x492
输电线路检修实用技术,巡检作业经验分享
图片尺寸640x782
通信增高架通信扶墙抱杆
图片尺寸1080x2340
女儿墙楼顶抱杆 增高架 通信增高架 三叉配重抱杆
图片尺寸223x320
2级电力承装修试金属抱杆许用轴压不大于100kn容许吊重不大于30kn
图片尺寸594x800
恒龙 人字抱杆立杆机
图片尺寸639x639