抽气泵简笔画

绘画插图,轮廓,圆柱体,矢量,气泵
图片尺寸1100x1100
抽气泵(航天员)-爱企查
图片尺寸584x800
手动抽气泵
图片尺寸375x306
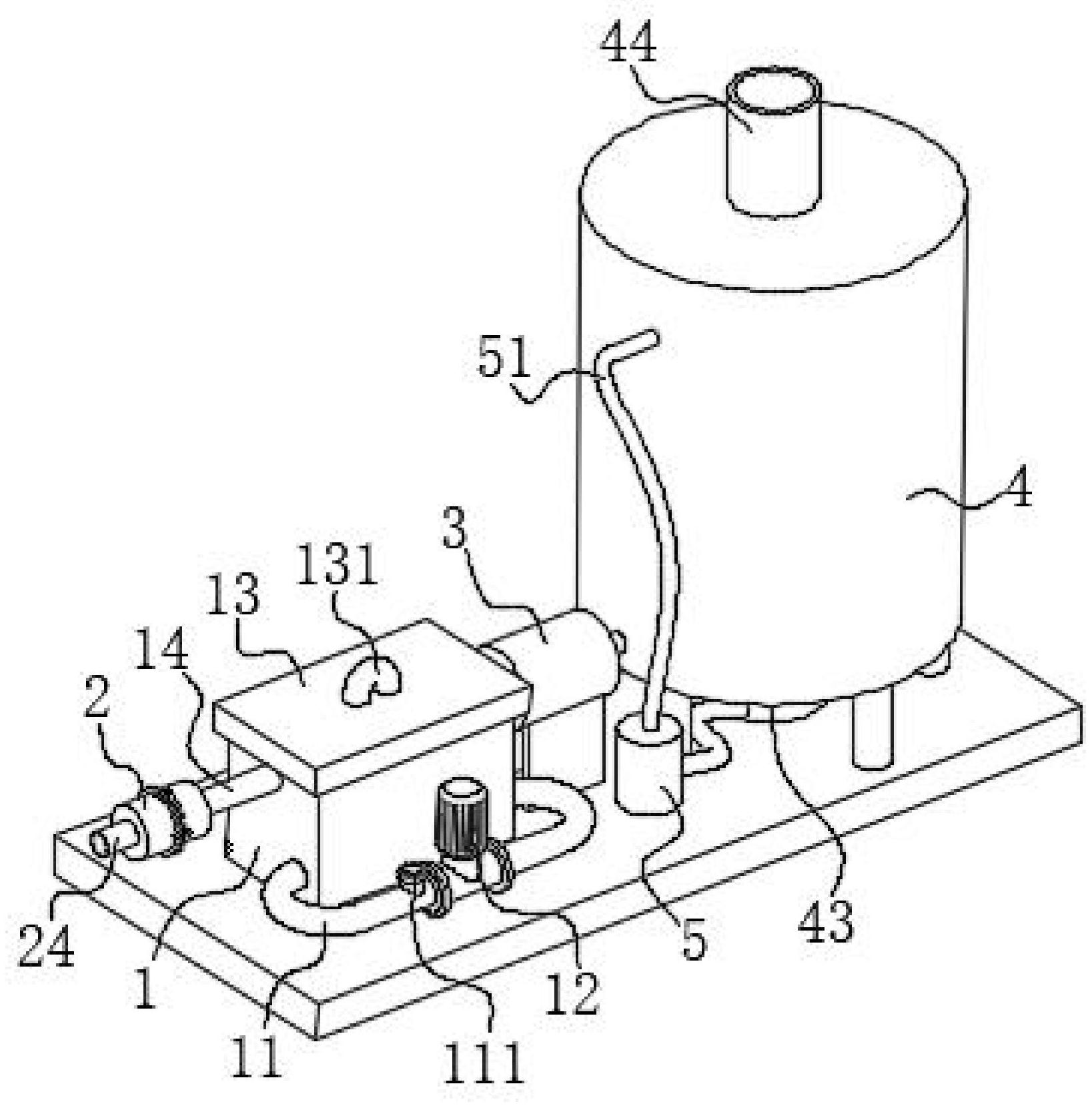
本实用新型涉及一种充气泵,特指一种结构简单且便于使用的改良型充气
图片尺寸401x444
电动真空抽气泵(snbs-139)
图片尺寸868x1274
一种空气泵的制作方法
图片尺寸443x442
空气泵
图片尺寸1312x917
电动真空抽气泵(snbs-139)
图片尺寸912x1235
cn112228333a_一种高吸程气动隔膜泵在审
图片尺寸1550x1555
气泵(车辆用)
图片尺寸1328x1322
摘要:本实用新型提出一种操作简单的抽真空装置,包括:抽气泵,抽气组件
图片尺寸221x399
电动真空抽气泵(snbs-139)
图片尺寸912x1235
连通管固定连接有过滤组件,处理箱的右侧通过管道固定连接有抽气泵,抽
图片尺寸1637x1658
已找到边展毅的专利检索结果7个
图片尺寸400x397
背景网络设计的传染媒介象的简单的例证隔绝的空气泵图标,简约风格
图片尺寸1024x1369
手动抽水泵简笔画
图片尺寸500x414
简笔画泵机
图片尺寸248x500
电动抽气泵的制作方法
图片尺寸926x1000
静音电动气泵的制作方法
图片尺寸1000x967
泵(一)
图片尺寸680x826