抽油机连杆

抽油机连杆
图片尺寸380x250
一种六连杆游梁抽油机-爱企查
图片尺寸4960x4491
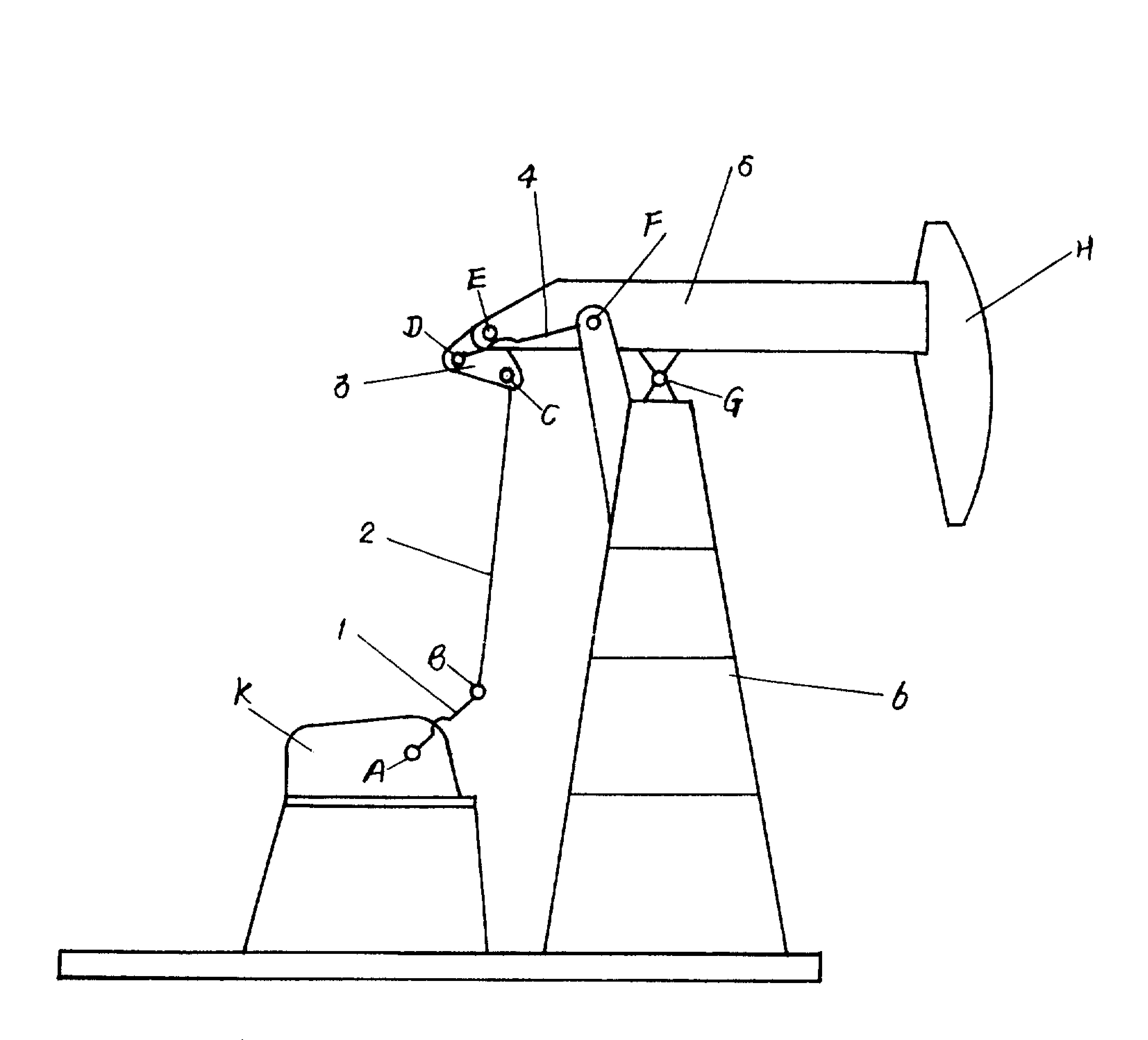
公司国内首创大中型抽油机五连杆结构再制造技术
图片尺寸700x467
公司国内首创大中型抽油机五连杆结构再制造技术
图片尺寸640x443
泉泉书制 柴油机连杆总成 dw·em185 shunxing - 抖音
图片尺寸1440x1920
工程技术公司成功研制自适应五连杆节能抽油机
图片尺寸1080x503
连续抽油杆
图片尺寸1268x628
api 11b norris 78 带抽油杆联轴器的抽油杆
图片尺寸1000x750
常规五型抽油机连杆改造
图片尺寸560x287
抽油杆_抽油机_延安守山机械制造有限公司
图片尺寸900x675
抽油机连杆拆装工具研制与应用
图片尺寸864x1098
前置式抽油机四连杆机构动态模拟
图片尺寸448x252
链条式抽油机的设计
图片尺寸1200x800
厂家直销 api 11b抽油杆 用于油田
图片尺寸1920x1440
ntu">常规型游梁式抽油机是指支架在驴头和曲柄连杆之间的一种抽油机
图片尺寸589x396
抽油杆 抽油机用
图片尺寸1024x768
供应三菱s16r-pta柴油发动机连杆37519-20100
图片尺寸1920x1440
235102b700适用于veloster飞思活塞连杆发动机连杆-阿里巴巴
图片尺寸800x800
公司国内首创大中型抽油机五连杆结构再制造技术
图片尺寸700x467
抽油杆
图片尺寸1920x1440