拉晶

怎样把沙子变成99999999999纯度的芯片原材料硅片
图片尺寸900x540
中欣晶圆:连续成功拉制12寸450公斤投料晶棒,量产可期!
图片尺寸4096x2808
2022年4月29日,工作人员在国家集成电路材料技术创新中心拉晶车间内
图片尺寸950x627
硅片常见的线痕的改进方法
图片尺寸400x300
光伏行业拉晶工的心情真的是变化快,产品成功心情愉悦,失败了烦
图片尺寸864x486
晶澳科技拟投50亿元建拉晶及切片项目 光伏组件龙头地位稳固
图片尺寸720x360
珠宝"李鬼"不相识,竟敢出门买宝石?
图片尺寸640x640
拉晶技术升级单晶多晶硅成本差距变小
图片尺寸459x281
我国开发出全球新一代全自动连续拉晶晶体生长炉
图片尺寸600x800
拉晶工艺及操作规程
图片尺寸920x690
阳光能源(青海)有限公司拉晶车间的操作员正在拉晶运行参数设置.
图片尺寸2126x1594
半导体制程简介ppt
图片尺寸1080x810
天合光能首个光伏全产业链条企业在西宁建成投产
图片尺寸800x533
1,首先大部分人应该知道我们所用的芯片是从沙子来的,将沙子进行拉晶
图片尺寸640x375
拉晶过程中,固态晶体与液态融液的交界处会形成一个明亮的光环,亮度
图片尺寸432x387
发展_稀土_产业
图片尺寸4144x2763
拉晶过程
图片尺寸500x667
天通银厦蓝宝石拉晶车间.jpg
图片尺寸1620x1080
如何提升单晶炉拉晶品质
图片尺寸800x588
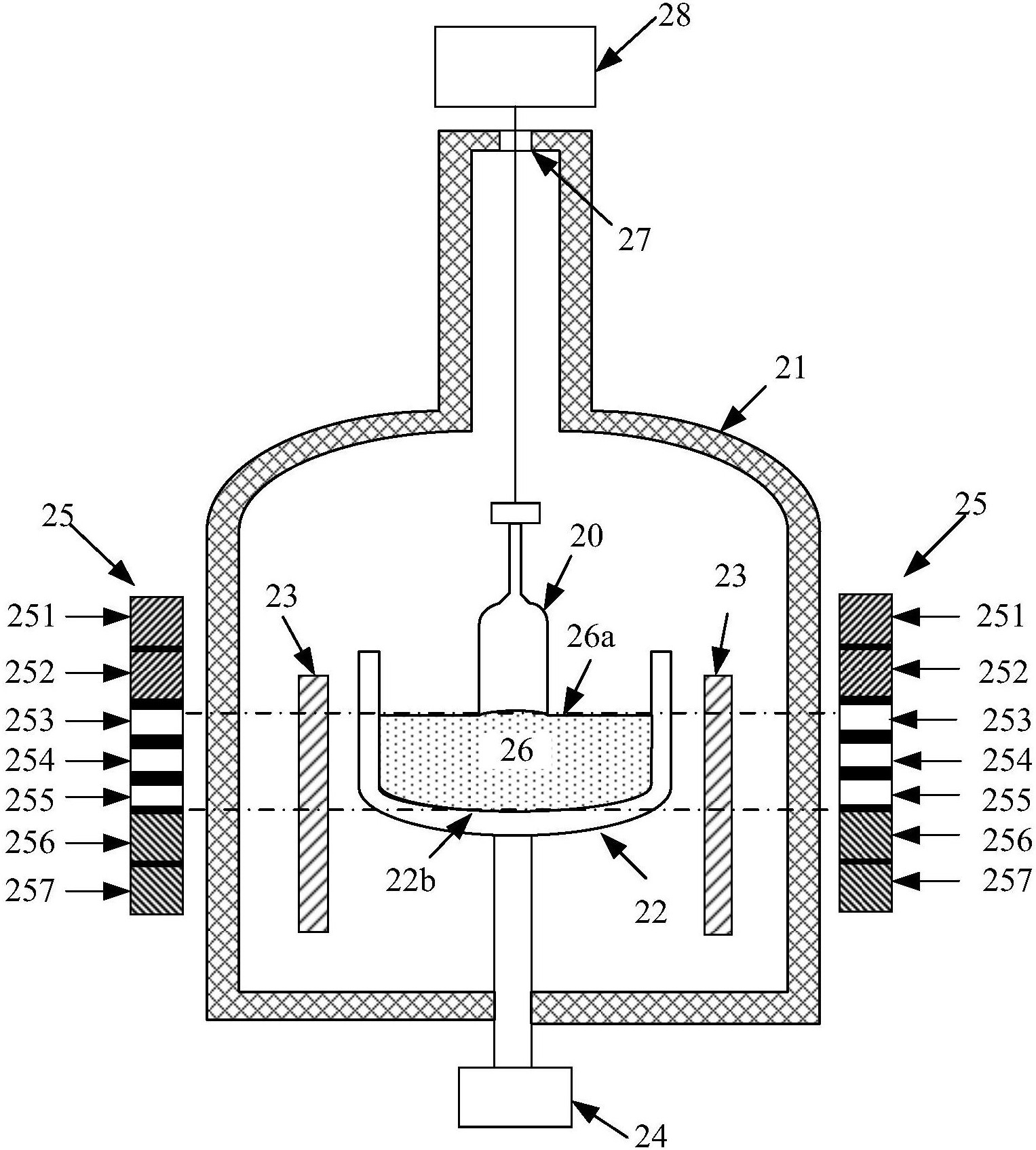
一种拉晶系统和拉晶方法-爱企查
图片尺寸1527x1696