拉链画法设计图

拉链,形状,纺织品,绘画插图,卡通
图片尺寸1100x1100
手绘线条拉链png素材下载_高清图片png格式(编号:19271742)-90设计
图片尺寸523x600
拉链
图片尺寸1174x1620
拉链图示(自己画的)
图片尺寸3398x2389
拉链的象征
图片尺寸1100x1140
拉链
图片尺寸2044x2652
拉链的象征
图片尺寸904x1200
拉链图片下载-拉链设计素材-拉链图片大全-千图网
图片尺寸580x772
孤立在白色背景上的拉链
图片尺寸683x1024
上衣ai矢量服装款式cdr可修改服装树脂拉链ai笔刷服装设计效果图款式
图片尺寸320x453
拉链的象征
图片尺寸1200x731
拉链简笔画教程拉链简笔画怎么画画法拉链简笔画怎么画画法
图片尺寸500x712
拉链素描,拉链.涂鸦风格
图片尺寸719x1023
拉链怎么画
图片尺寸800x320
服装拉链ai笔刷
图片尺寸324x432
拉链的制作方法
图片尺寸392x1000
一种新型拉链制造技术
图片尺寸890x1000
薄翼一体型拉链的制作方法
图片尺寸634x1000
拉链的象征
图片尺寸1200x762
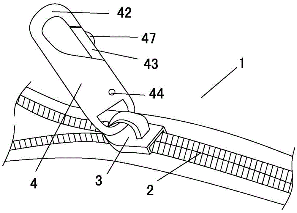
cn206006212u_一种拉链及使用该拉链的背包失效
图片尺寸1000x720