拖挂式房车底盘结构图

拖挂式房车底盘车架数据
图片尺寸800x402
拖挂式房车底盘
图片尺寸1600x800
开工了拖挂房车底盘年初大优惠
图片尺寸800x402
拖车底盘图纸
图片尺寸820x508
宇通雍和系列双拓展房车上市 进口依维柯三类底盘打造 售价92.8万
图片尺寸641x365
7m/8m拖挂房车底盘
图片尺寸640x480
拖挂式房车底盘结构设计及三维建模
图片尺寸300x225
拖挂房车底盘黑科技为拖挂房车装上电池就是可遥控的电动大玩具
图片尺寸800x450
大篷车拖车底盘模型图大篷车拖车底盘结构图大篷车拖车底盘渲染图雇佣
图片尺寸820x597
底盘奇骏尊享版 4wd的动力表现略好于昂科威,加速要快一些.
图片尺寸600x840
优势-拖挂式房车底盘-烟台爱科机械设备有限公司
图片尺寸720x400
一种具有双轴结构的拖挂房车车架底盘双轴拖挂底盘
图片尺寸700x525
板簧拖挂房车底盘的结构特点以及作用
图片尺寸800x533
ct机│越野神车长了啥02解构铃木吉姆尼零件细节
图片尺寸600x450
懂车帝上查询得知威霆的后悬挂是半拖式独立悬挂请问什么是半拖式独立
图片尺寸780x519
向往系列拖挂房车底盘使用国内外先进的凸模技术和脱焊工艺,按照中国
图片尺寸1080x708
knott越野性提高的拖挂房车底盘
图片尺寸2000x1168
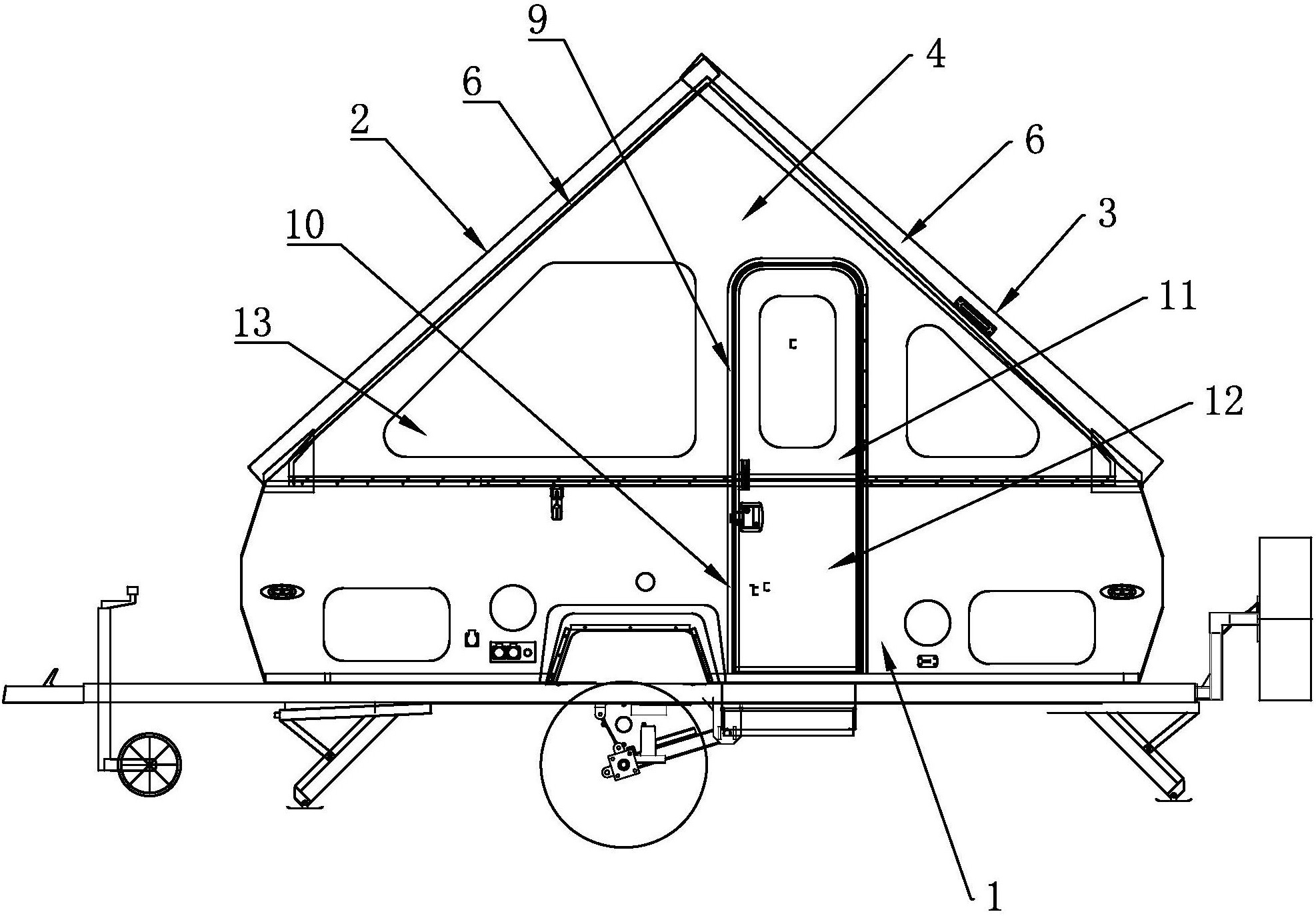
该组合式尖顶拖挂房车包括托挂式底盘,在托挂式底盘上设有一车身箱体
图片尺寸1974x1374
拖挂式房车底盘ppt
图片尺寸1080x810
拖挂房车alko底盘使用手册alko房车底盘千斤顶和高级支撑轮
图片尺寸800x450