拨杆式

拨杆式操作,像不像在开战斗力?
图片尺寸400x266
纽子摇杆摇臂开关 两三档3脚拨动按键复位扭动摇杆拨杆式钮子开关
图片尺寸1000x1000
堆垛机深库位拨杆式货叉供应商
图片尺寸750x750
燃油车上越来越流行的拨杆式换挡是一种怎样的存在_腾讯新闻
图片尺寸860x504
拨杆式输送链机
图片尺寸300x225
汽车灯光拨杆如何正确使用?老司机演示给你看,学一遍就会很简单
图片尺寸1919x1079
人字拔杆 桅杆式起重机
图片尺寸686x467
燃油车上越来越流行的拨杆式换挡是一种怎样的存在_腾讯新闻
图片尺寸852x508
人字拔杆 桅杆式起重机
图片尺寸680x380
左侧拨杆是灯光操作杆,旋转式开关使用起来很方便.
图片尺寸640x427
按照官方的解释,新的换挡拨杆样式更加符合人体工程学设计,言外之意是
图片尺寸630x420
便宜:d 正赶上换代 变速轮拨杆式的,很不错… 查看本楼
图片尺寸500x750
飞机拨杆式中控按键【图】_新车体验_太平洋汽车网
图片尺寸800x534
最左方的电源键采用复古的拨杆式,非常有味道.
图片尺寸500x333
复古的拨杆式开关
图片尺寸550x367
拨杆式娃娃机
图片尺寸820x508
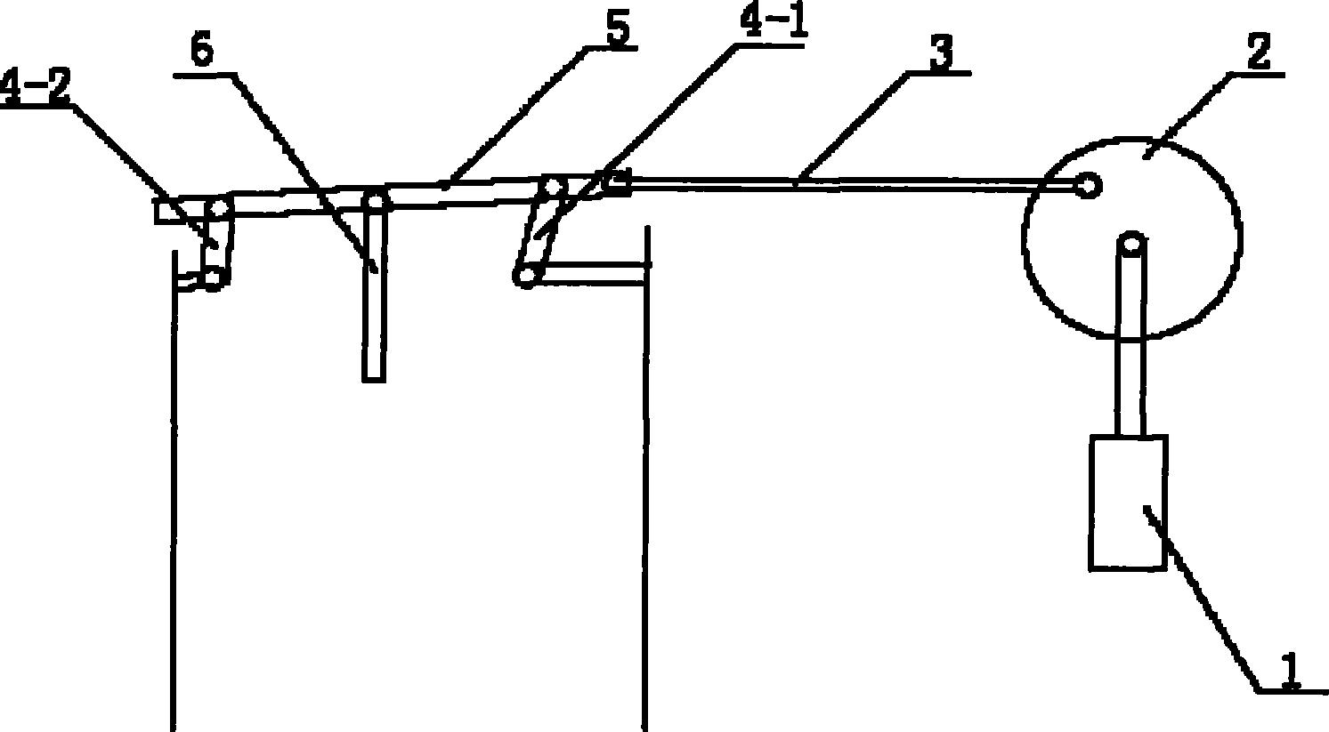
拨杆式变速箱结构设计
图片尺寸820x579
称重机usb接口拨杆式多少钱
图片尺寸800x800
拨杆式的按键十分战斗.
图片尺寸5184x2916
拨杆式振动筛-爱企查
图片尺寸1493x823