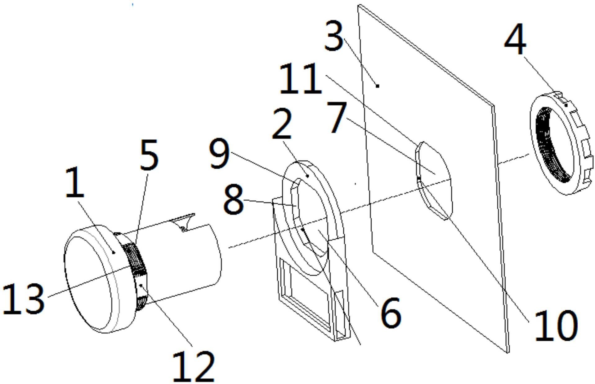
指示灯结构

一种指示灯安装结构-爱企查
图片尺寸1918x1240
2-前照灯的结构及分类②前照灯应具有防眩目装置,以免夜间两车交会时
图片尺寸372x278
的,铝镁合金材料,它的密度成分不是太高,所以材质较轻,但是结构非常好
图片尺寸750x667
关于汽车led灯你不可不了解的知识!
图片尺寸620x515
想不露怯!就要知道智慧路灯这些参数
图片尺寸640x745
12v 35w 55w通用优质a级,摆角,近远一体氙气灯
图片尺寸1830x1920
和泉指示灯技术介绍,idec性能概览
图片尺寸660x325
厂家直销科学套装 红绿灯 交通玩具 幼儿园早教益智 交通灯标志牌
图片尺寸1357x1920
2,视角大,寿命长.1,功率低,结构新颖,外形美观.可移动式
图片尺寸799x1451
2.封闭式前照灯③灯泡损坏时应从后部拆换.
图片尺寸1040x816
前照灯 ⒈ 结构 前照灯的光学组件由灯泡,反射镜和配光镜三部分组成
图片尺寸1080x810
科学 认识灯的结构
图片尺寸1080x810
一种开关指示灯-爱企查
图片尺寸776x1192
简述对前照灯的基本要求前照灯的结构组成
图片尺寸396x410
一种行人检测用指示灯,其结构包括自动调节装置,散热罩,衔接块,指示灯
图片尺寸1000x980
led面板灯知识 怎么买到高性价比的面板灯
图片尺寸359x292
汽车灯光照明由哪些部分组成?
图片尺寸588x578
现代汽车照明系统的发展趋势-汽车,照明系统,车灯
图片尺寸520x367
前照灯(前大灯)的结构组成
图片尺寸420x333
一种避免火灾时光线不足影响逃生指示的防爆指示灯
图片尺寸1785x1778