指针式喷灌机同步原理

大连厂家喷灌机指针喷灌机dpp牵引式喷灌机
图片尺寸750x764
指针式喷灌机-山东德瑞农业科技有限公司
图片尺寸599x397
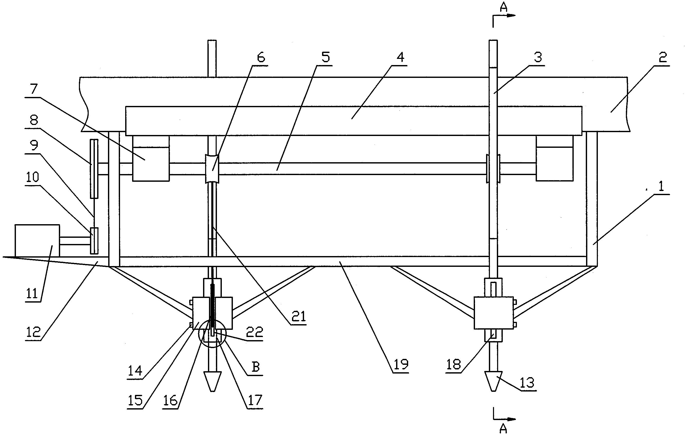
指针式喷灌机喷头高度调节装置
图片尺寸2665x1696
大连雨林微课堂—中心支轴式喷灌机
图片尺寸761x400
dyp沃达尔dyp指针式喷灌机 进口核心部件
图片尺寸1500x1287
这个基地数千亩花生,多台中心支轴式喷灌机,踏踏实实认认真真做农业.
图片尺寸1280x720
耕泽dyp中心支轴式喷灌机指针机
图片尺寸710x470
指针式喷灌机
图片尺寸500x332
节水灌溉中的指针式喷灌机
图片尺寸1008x1215
00指针式喷灌机dyp-62查看更多大型喷灌机系列¥34000.
图片尺寸900x472
指针式喷灌机|安徽艾瑞德农业装备股份有限公司
图片尺寸1200x2025
指针式喷灌机
图片尺寸1180x788
艾瑞德irritech平移式喷灌机小型农田使用dpp100
图片尺寸3367x1242
中心支轴式喷灌机,电动圆形喷灌机,华雨大型喷灌机,华雨牌卷盘机,华雨
图片尺寸2040x1530
供应信息-指针式喷灌机厂家_华雨平移式喷灌机_电动圆形喷灌机_指针式
图片尺寸2316x1815
卷盘式喷灌机
图片尺寸1098x666
4轮牵引式喷灌机 大田灌溉指针机玉米小麦甘蔗浇水神器水肥一体化
图片尺寸750x981
厂家直销指针式喷灌机智能控制系统
图片尺寸900x478
喷灌机中心支轴式喷灌机指针式喷灌机,center pivont irrigation
图片尺寸800x800
指针式大型移动式喷灌机全自动大田灌溉设备
图片尺寸550x765