按压式开关结构图

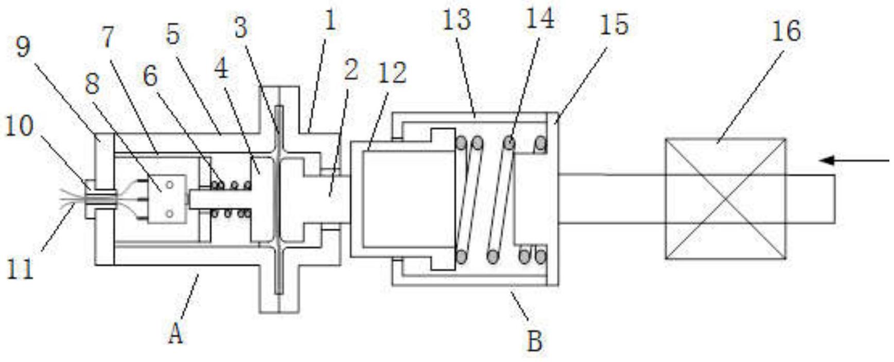
一种自复位水下按压式开关
图片尺寸1832x1740
cn107588205a_机械按压式开关阀芯在审
图片尺寸817x891
通过按压控制,可以实现开关的通断,且其通断结构稳定,使用寿命长,其
图片尺寸1296x948
2.按钮开关原理—结构
图片尺寸1105x664
按钮开关ppt
图片尺寸1080x810
一种按压式水下开关
图片尺寸728x732
按钮开关的结构
图片尺寸400x338
cn201197499y_抽屉的按压式开关装置失效
图片尺寸1860x1793
按钮开关结构图.jpg
图片尺寸457x301
cn201072718y_按压式开关失效
图片尺寸1908x1765
一种按压式水下开关的制作方法
图片尺寸736x740
供应kan-j2系列spst自复位按键开关 插座用开关
图片尺寸1728x1489
按压式开关结构及具有按压式开关结构的电子装置
图片尺寸2653x1756
一种防水的按压式旋钮开关-爱企查
图片尺寸1213x1259
一种耐恶劣环境的按压式行程开关制造技术
图片尺寸1000x987
pc系列-消防压力开关
图片尺寸418x390
按钮开关结构,符号
图片尺寸450x346
微动开关内部结构图
图片尺寸580x560
用于全海深的水下按压式开关装置
图片尺寸1737x705
cn211475032u_一种按压开关结构有效
图片尺寸1888x794