挖掘机引导轮结构图

挖掘机便会跑偏,3d动画直观演示引导轮结构-生活视频-免费在线观看-爱
图片尺寸1248x720
一种重型挖掘机引导轮-爱企查
图片尺寸1284x1102
矿山加强型引导轮#创作者灵感 #挖机底盘件 #推土机配件 # - 抖音
图片尺寸1440x1920
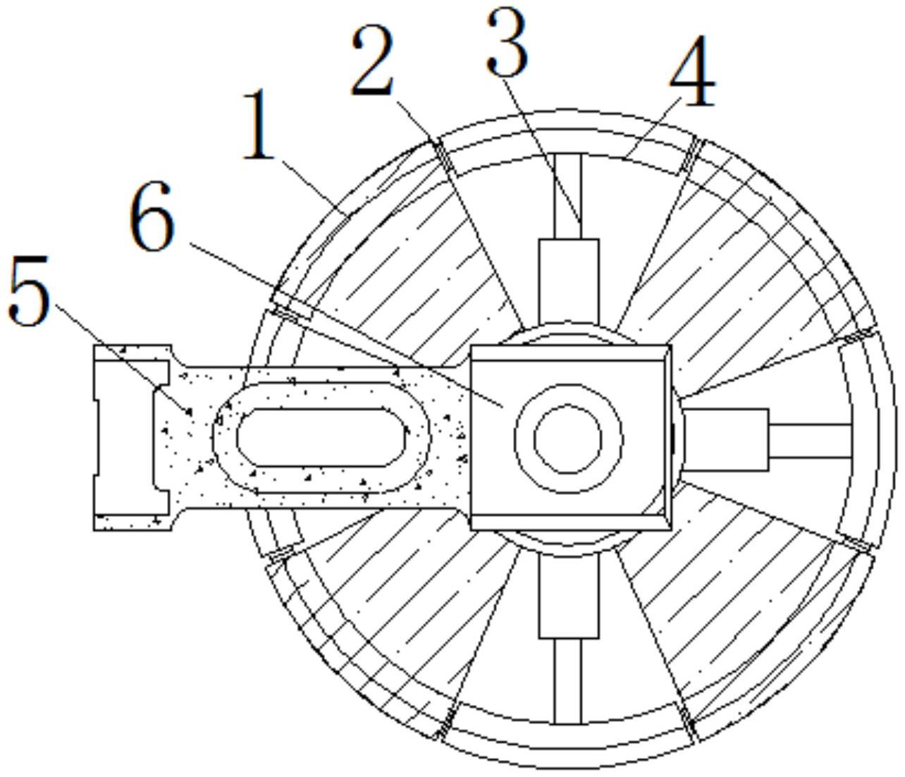
一种防脱链挖掘机引导轮
图片尺寸1781x1879
挖机柳工clg220/920/925引导涨紧地导向轮厂家直销底盘配件
图片尺寸1920x1079
一种大型矿用挖掘机用引导轮的制作方法
图片尺寸990x1000
新疆现代/斗山挖机配件,轮挖配件.现代/斗山/沃尔沃/三一/ - 抖音
图片尺寸1264x844
cn208881949u_一种小型挖掘机引导轮有效
图片尺寸649x1000
komatsu小松pc4005挖机履带导向引导轮底盘件
图片尺寸800x600
一种耐磨性强的履带挖掘机引导轮的制作方法
图片尺寸1856x1784
一种使用寿命长的挖掘机引导轮的制作方法
图片尺寸444x416
挖掘机故障大全,建议收藏!(上)
图片尺寸800x479
西藏轮挖三山重工直销16吨轮式挖掘机进口配置质量三包
图片尺寸750x744
当前引导轮结构广泛使用在工程机械下车结构中,在履带底盘行走过程中
图片尺寸555x523
一种挖掘机用引导轮结构的制作方法
图片尺寸1000x968
一种挖掘机引导轮
图片尺寸1832x1299
挖掘机的驱动轮起到驱动履带的作用,固定在行走马达上,通过齿轮结构将
图片尺寸1780x1895
卡特329d引导轮涨紧缸 挖机配件 - 抖音
图片尺寸1080x1440
二,操作挖掘机的准备工作
图片尺寸972x729
神钢250 260涨紧油缸引导轮 - 抖音
图片尺寸1080x1440