挤出机模头结构图

1挤出机头概述 一,挤出成型模具的分类及作用 问题 目的与要求 重点和
图片尺寸1080x810
模架,使机头各零部件组装连接成一个整体, 并可安装固定在挤出机料筒
图片尺寸1080x810
塑料管材挤出模头
图片尺寸2948x1816
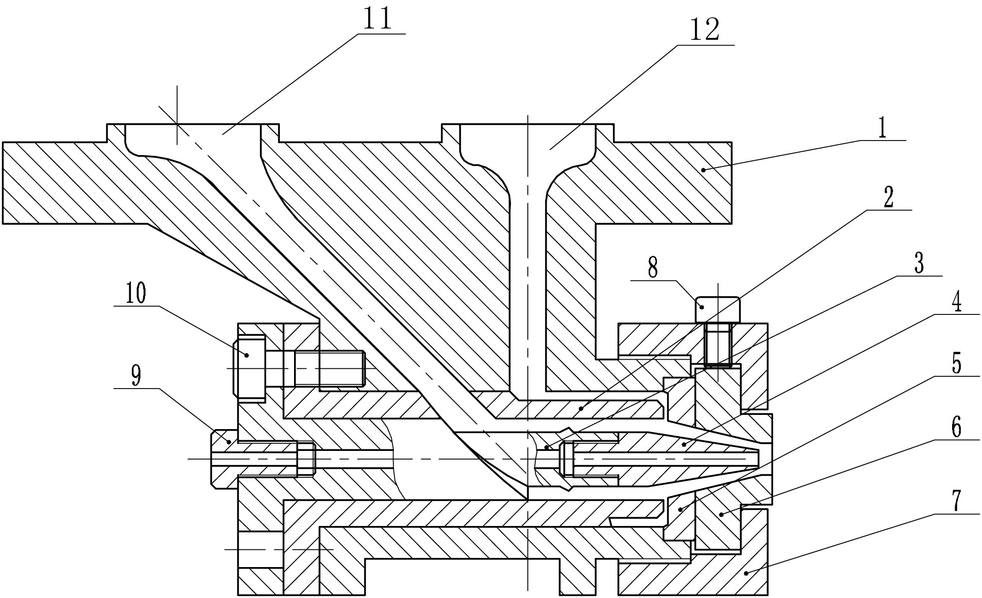
一种管材挤出机的单层双管模头
图片尺寸1735x1349
一种分体式挤出模头的制作方法
图片尺寸1000x677
新型公开了小口径双壁波纹管挤出机头,机架固定的压紧端盖连接有模套
图片尺寸2715x1402
机头后段设有模腔,模腔内设有导流机构及模座,本光缆护套挤出机机头
图片尺寸1934x1182
一种带有一体式模具的电缆护套挤出机用机头的制作方法
图片尺寸991x1000
塑料管材挤出机头类型及结构特点
图片尺寸545x490
塑料挤出管材模具设计
图片尺寸597x436
一种改进的挤出涂覆模头-爱企查
图片尺寸512x488
塑料模具设计教程_8-8电线电缆挤出成型机头
图片尺寸335x284
2 管材挤出机头的设计 一,典型结构 1.
图片尺寸1080x810
挤出成型模具 一,挤出成型模具的典型结构
图片尺寸1080x810
cn213092917u_一种双流道,双色电线挤出机头
图片尺寸1937x1179
现以管材挤出机头为例,分析一下机头的组成与 结构,见图所示(4)通过机
图片尺寸988x660
挤出模头机构的制作方法
图片尺寸825x1000
聚乙烯管材挤出模头的一般知识
图片尺寸438x278
φ60塑料挤出机装配图
图片尺寸779x555
一种电子线料挤出机模头的制作方法
图片尺寸416x443