振动结构

两种振动机构的原理讲解,一起看看它们不同的用途吧!
图片尺寸600x338
两种利用曲柄制作的振动机构对比,看看它们是怎么振动的吧!
图片尺寸658x370
两种振动机构的原理讲解,一起看看它们不同的用途吧!
图片尺寸600x338
利用偏心块制作的振动机构,一起看看它是怎么实现的吧-生活视频-搜狐
图片尺寸658x370
振动机构
图片尺寸530x390
振动盘供料机构
图片尺寸530x510
振动盘调节机构
图片尺寸511x635
振动上料机构
图片尺寸530x446
振动机构
图片尺寸530x398
两种振动机构的原理讲解,一起看看它们不同的用途吧!
图片尺寸600x338
振动盘上料机自动叠料机构
图片尺寸716x614
振动盘上料机原理机构
图片尺寸530x377
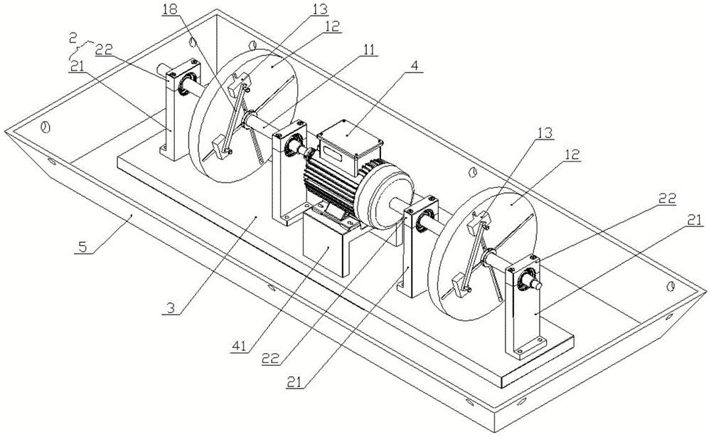
底座和设于振动底座内的连接板,连接板上设有支撑座,振动机构和减震座
图片尺寸1000x614
低频振动机构
图片尺寸557x433
便携式振动枸杞采摘机成套图
图片尺寸736x615
一种振动机构及高精度定位装料振动装置的制作方法
图片尺寸443x441
振动机构
图片尺寸315x315
一种在正反转时产生不同振动力的振动电机振动结构
图片尺寸1000x861
景颇族爆破振动监测费用|德宏傣族景颇族海上石油平台安全监测机构
图片尺寸400x400
m3螺母振动盘供料直振分料机构图
图片尺寸950x866