推拉窗户简笔画

窗户简笔画.打开窗户,让风吹进来…#画画 #手绘 #简笔画 - 抖音
图片尺寸1440x1920
推拉窗制造技术
图片尺寸1000x922
打开的窗户~#创作灵感 #窗户 #简笔画 #一起学画画 #一 - 抖音
图片尺寸1440x1440
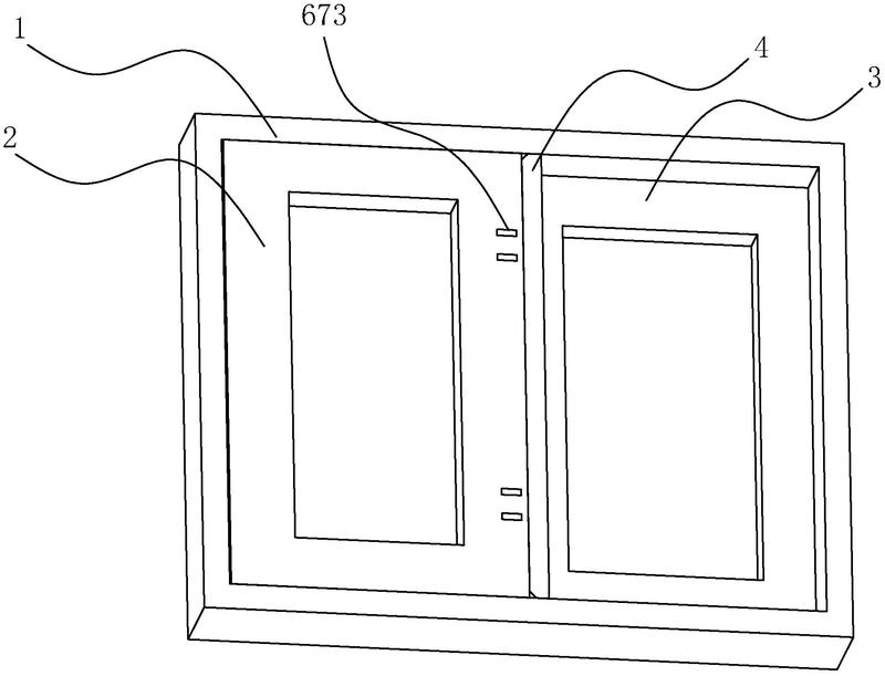
摘要附图摘要本实用新型涉及一种窗户,具体是一种四周可通风的手动平
图片尺寸903x1182
卡通简笔画:窗户怎么画?(学生网)
图片尺寸692x978
一个小窗户09简笔画教程
图片尺寸726x730
一种断桥式节能型铝合金推拉窗-爱企查
图片尺寸800x611
儿童简单有趣的简笔画系列之窗户简笔画的画法
图片尺寸500x310
型材所生产的一种推拉窗,它的出现可以方便人们使用,它不但结构简单
图片尺寸443x424
一种安全型推拉窗的制作方法
图片尺寸443x443
边的女生上色简笔画要怎么画必备技能教你简笔画窗户经验告诉你该这样
图片尺寸491x260
窗户简笔画怎么画
图片尺寸600x400
打开的窗户~#创作灵感 #窗户 #简笔画 #一起学画画 #一 - 抖音
图片尺寸1440x1440
窗户的简笔画怎么画
图片尺寸500x400
儿童卡通窗户简笔画画法 简单又漂亮窗户简笔画怎么画
图片尺寸500x374
窗台晾衣服简笔画(下雨天窗户阳台简笔画) -【爱个性】
图片尺寸300x200
窗户简笔画简单美观
图片尺寸500x333
窗户黑白简笔画
图片尺寸500x706
打开的窗户~#创作灵感 #窗户 #简笔画 #一起学画画 #一 - 抖音
图片尺寸1440x1440
简笔画素材分享538款卡通小窗户
图片尺寸1280x720