提纯装置图

物质分离提纯解析版 考点二,混合物分离,提纯常用物理方法 1) 装置
图片尺寸479x517
如图1是同学们做粗盐提纯实验的操作示意图.
图片尺寸644x362
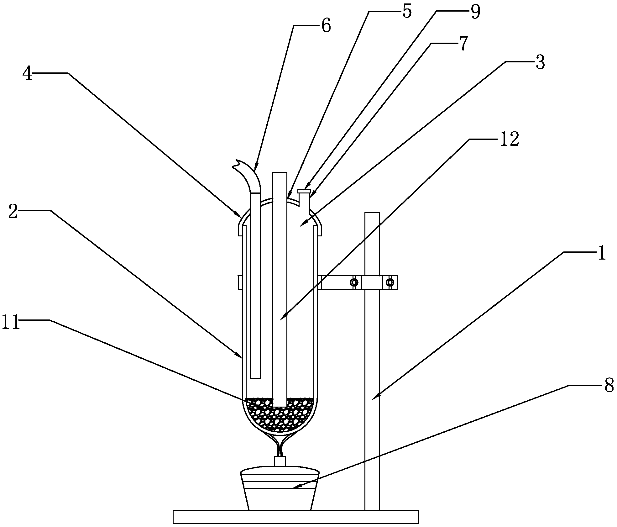
cn112827204a_真空提纯装置及提纯系统在审
图片尺寸1697x1879
有机物的提纯
图片尺寸1080x810
【推荐3】如图所示是中学化学中常用的混合物分离和提纯的装置.
图片尺寸7347x2360
图 2 不同气体比例的生物提纯装置图
图片尺寸1575x984
一种氨纶生产用的蒸馏提纯装置-爱企查
图片尺寸1856x1437
粗盐提纯实验中,搭建蒸发装置时,下述操作中应首先进行的是( ) -教案
图片尺寸438x347
全套蒸馏提纯装置球形蛇形脂肪抽出器索氏提取器萃取装置
图片尺寸800x800
一种直拉重掺锑硅单晶锑源提纯装置
图片尺寸1969x1681
如图为四种常见的分离提纯方法的装置图.
图片尺寸426x193
2.图1装置常用于混合物的分离提纯.
图片尺寸560x369
初三化学第二讲:物质提纯和化学语言改动
图片尺寸246x410
粗硅 的提纯
图片尺寸1600x1200
一种呋喃酚分子精馏提纯装置
图片尺寸1863x1623
将含有mgcl2的粗盐配制成溶液后进行提纯最终得到食盐晶体步骤如下图
图片尺寸458x163
实验三重结晶提纯
图片尺寸372x633
2019-2020年高考化学二轮复习 专题14 物质的分离,提纯与制备教案
图片尺寸409x323
一种碳纳米管材料的提纯装置及方法与流程
图片尺寸1000x621
所示装置进行实验,以探究苯与溴发生反应的原理并分离提纯反应的产物
图片尺寸691x257