插齿机让刀原理图

插齿机
图片尺寸546x511
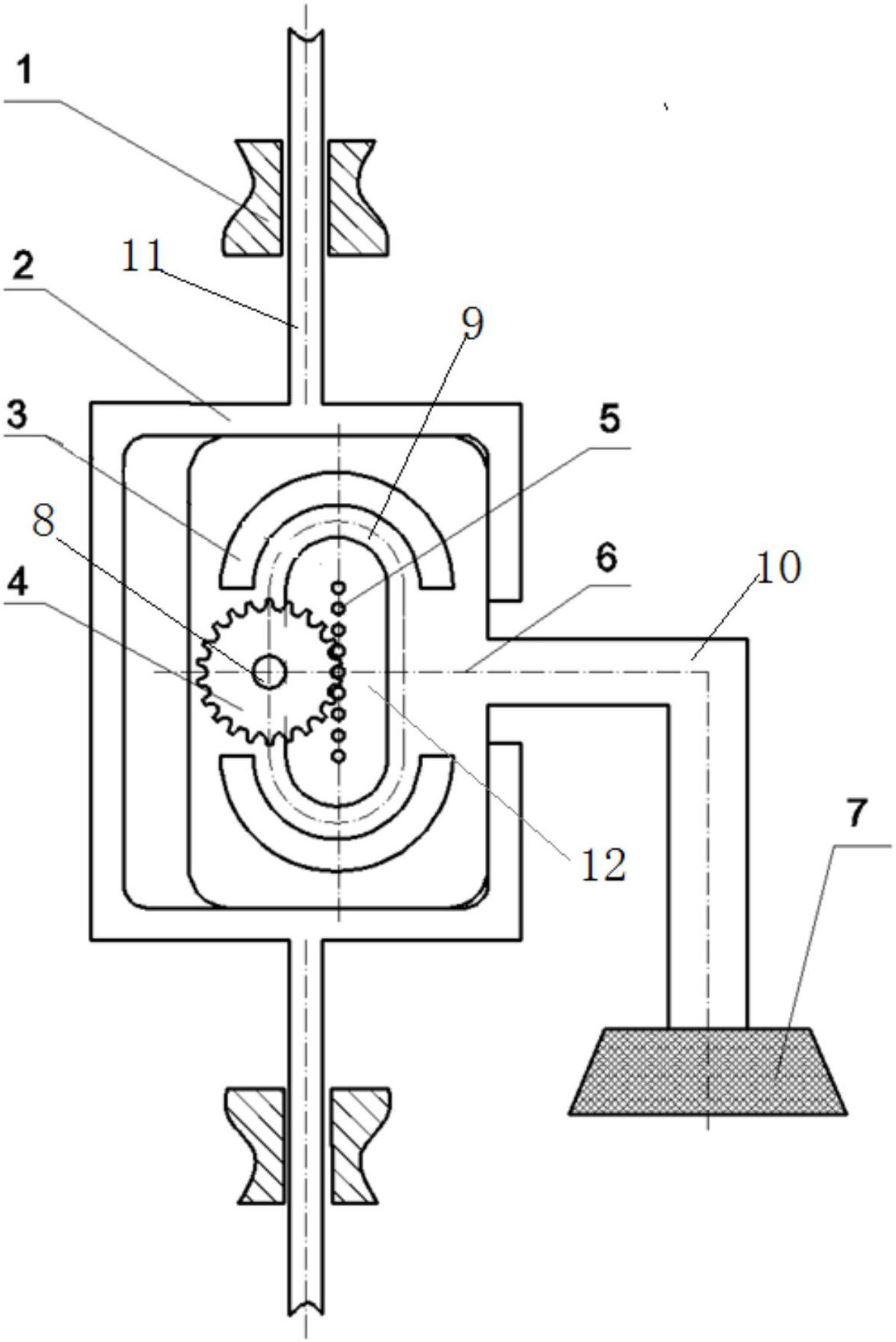
一种插齿机换刀机构
图片尺寸904x1376
插齿刀与插齿工艺存在的问题与对策
图片尺寸533x258
2齿轮加工之插齿原理和插齿 插齿加工是用插齿刀在插齿机上加工齿轮的
图片尺寸1080x810
一种插齿刀具控制装置-爱企查
图片尺寸1182x1769
齿轮加工刀具插齿刀工作原理
图片尺寸560x444
cn2753496y_万能斜齿插齿机失效
图片尺寸1351x1417
cn2611086y_剃齿刀专用插槽机失效
图片尺寸488x709
插齿加工在插齿机上进行,是相当于一个齿轮的插齿刀与齿坯按一对齿轮
图片尺寸556x228
插齿机,是一种金属切削机床,是使用插齿刀按展成法加工内﹑外直齿和斜
图片尺寸334x443
cn201161321y_插齿刀冲程调整装置失效
图片尺寸437x600
齿轮加工刀具插齿刀工作原理
图片尺寸560x456
一种数控插齿机刀架机构制造技术
图片尺寸542x827
图6-25 插齿复习思考题1.铣削时的主运动和进给运动是什么?
图片尺寸371x232
cn110211479a_一种插齿机教具
图片尺寸1000x689
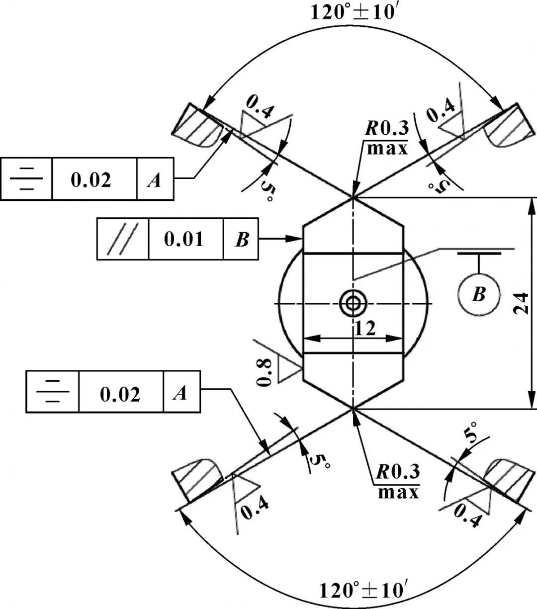
且每个刀齿由两相交成120°的两切削刃组成,每次进行单个刀齿插削
图片尺寸1080x1225
插齿机,是一种金属切削机床,是使用插齿刀按展成法加工内﹑外直齿和斜
图片尺寸443x326
工作台的旋转进给运动(b轴),刀具的旋转进给运动(c轴),插齿刀轴的上下
图片尺寸550x354
倒锥齿轮插齿刀的设计
图片尺寸1167x1747
主运动:指插齿刀的上下往复直线运动.
图片尺寸306x380