插齿机运动简图

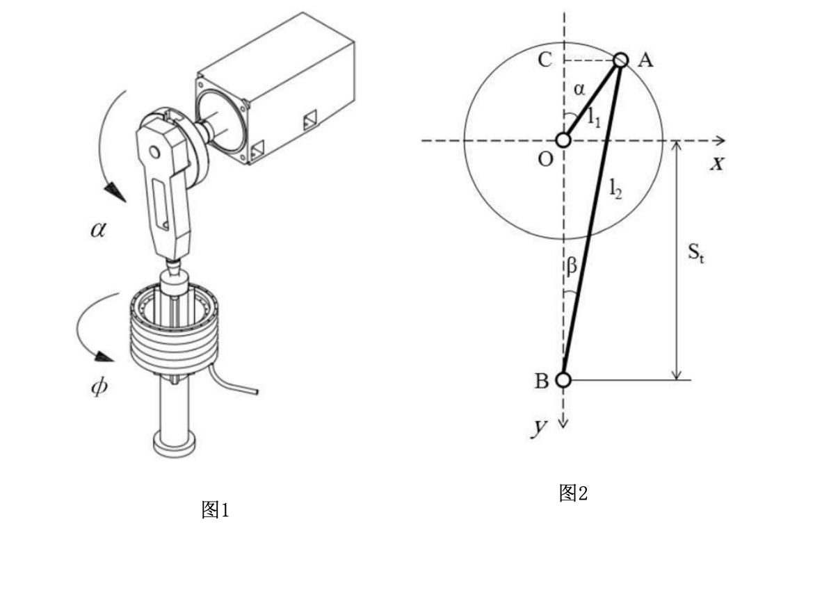
插齿机主动机构运动简图 设计一个六杆机构 输入运动形式为电机 输出
图片尺寸864x425
高分求小型插齿机工作台的让刀运动机构简图
图片尺寸257x332
插齿机传动原理图
图片尺寸466x327
高分求小型插齿机工作台的让刀运动机构简图
图片尺寸314x441
一种插齿机电子螺旋导轨运动控制方法
图片尺寸1182x852
插齿机数控滚齿机
图片尺寸535x433
高分求小型插齿机工作台的让刀运动机构简图
图片尺寸499x306
高速插齿机主运动惯性力自动全平衡设计方法技术
图片尺寸593x1000
插床插削机构中期进展报告插床是常用的机械加工设备,用于齿轮,花键和
图片尺寸770x560
插齿机
图片尺寸546x511
跪求插齿机插刀往复运动机构机械原理课程设计
图片尺寸2448x3264
一种教学用插齿机教具的制作方法
图片尺寸1000x720
cn2753496y_万能斜齿插齿机失效
图片尺寸1351x1417
m—1—2—uv—3—4—5—曲柄偏心盘a—插齿刀主轴(往复直线运动)"组成
图片尺寸352x391
1,插床传动系统机构设计
图片尺寸951x1345
插齿机
图片尺寸251x300
"紧急回退"功能在插齿机上的应用
图片尺寸550x354
cn101954515b_使用插齿机的插齿加工方法有效
图片尺寸1324x1114
包括插头,床身,工作台,挂轮组,驱动齿轮插刀作范成运动的机构,变速
图片尺寸540x709
一种直线电机驱动的插齿机的制作方法
图片尺寸1000x912