摇摆式颗粒机工作原理

型号齐全 yk系列摇摆颗粒机 干法高效制粒机 旋转颗粒机 价格优惠
图片尺寸830x435
摇摆式颗粒机的工作原理
图片尺寸354x334
摇摆式颗粒机swinggranulator
图片尺寸373x459
灵灵机械 yk摇摆式颗粒机 适用于食品 制药 化工
图片尺寸708x470
现货供应yk-160摇摆式造粒机摇摆式颗粒机固体冲剂速溶颗粒机
图片尺寸1024x768
摇摆式颗粒机的工作原理
图片尺寸488x430
德邦推荐蛋白酶造粒设备感冒冲剂摇摆颗粒机yk320摇摆制粒机
图片尺寸790x737
160摇摆制粒机 制药造粒机 摇摆式颗粒机 160制粒机 造粒机
图片尺寸750x1074
柠檬姜茶yk-160摇摆颗粒机 红糖姜茶造粒机
图片尺寸750x750
摇摆式颗粒机是一种用旋转滚筒的摇摆作用,通过铁丝筛子可以
图片尺寸800x511
摇摆式制粒机板蓝根颗粒机食品工业化工商用滚筒制颗粒机旭朗
图片尺寸750x507
厂家供应感冒冲剂制粒机 摇摆式制粒机 板蓝根颗粒制粒机质量保证
图片尺寸790x1157
批发电动饲料颗粒机 杂草麦麸饲料制粒机 牛羊饲料颗粒成型机
图片尺寸800x800
1,饲料颗粒机进料口与模孔的堵塞可能会造成饲料颗粒机工作效率降低
图片尺寸575x503
szlh400颗粒机
图片尺寸773x709
摇摆式制粒机 摇摆式颗粒机-yk160型摇摆式制粒机 摇摆制粒-久川
图片尺寸790x1106
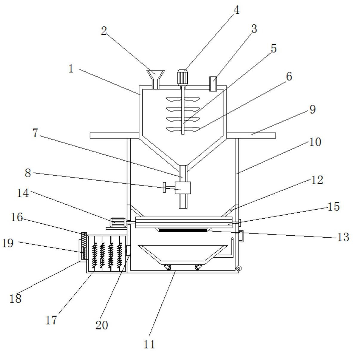
一种具有引料功能的制药摇摆颗粒机的制作方法
图片尺寸869x1049
cn213699763u_一种制药用的摇摆式颗粒机有效
图片尺寸1183x1179
供应m245289摇摆式颗粒机
图片尺寸533x395
yk160摇摆制粒机
图片尺寸798x598