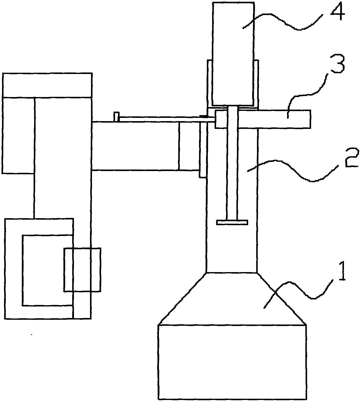
摇臂结构原理图
 - 摇臂总成的构造图片尺寸730x1026
 - cn108661636a_一种薄煤层采煤机摇臂在审图片尺寸1827x1271
 - 采煤机摇臂培训文件ppt图片尺寸1080x810
 - 采煤机摇臂培训文ppt课件图片尺寸1080x810
 - 摇臂的作用原理:上摇臂用于安装磨辊,下摇臂连接液压系统,两摇臂通过图片尺寸600x400
 - system review 2: basic steering and suspension system 转向摇臂图片尺寸1080x810
 - cn201513691u_一种摇臂组件失效图片尺寸2406x1713
 - cn207510553u_一种高平稳性行走箱体的摇臂式悬架机构有效图片尺寸1877x1893
 - 采煤机摇臂培训文件ppt图片尺寸1080x810
 - 滚子摇臂示意图图片尺寸988x789
 - 一种万向联轴器传动采煤机摇臂装置图片尺寸2423x1316
 - cn207145567u_一种智能机器人液力传动摇臂失效图片尺寸359x464
 - 采煤机摇臂的新型强迫润滑装置制造方法及图纸图片尺寸2455x948
 - 一种板材铣削机械的铣刀摇臂-爱企查图片尺寸1444x1607
 - 传动效果好,结构强度高以及散热效果好的新型摇臂图片尺寸1000x581
 - 在发动机内,一般由凸轮结构驱动与其接触的摇臂滚子来带动摇臂移动图片尺寸373x443
 - 了解机械臂的机械系统和控制系统的组成,工作原理图片尺寸573x424
 - 图1 立磨摇臂结构图片尺寸522x389
 - 性能稳定,节省安装空间,安全性高,性能可靠,结构简单的车载摄影摇臂图片尺寸1000x620
 - 供应广东装修材料加工用摇臂钻床图片尺寸467x618