撒放器工作原理

一种钳式撒放器
图片尺寸1000x758
亮亮自己最爱的gun 兵器科学小组 果
图片尺寸560x517
电力机车多功能撒砂器-爱企查
图片尺寸1255x1723
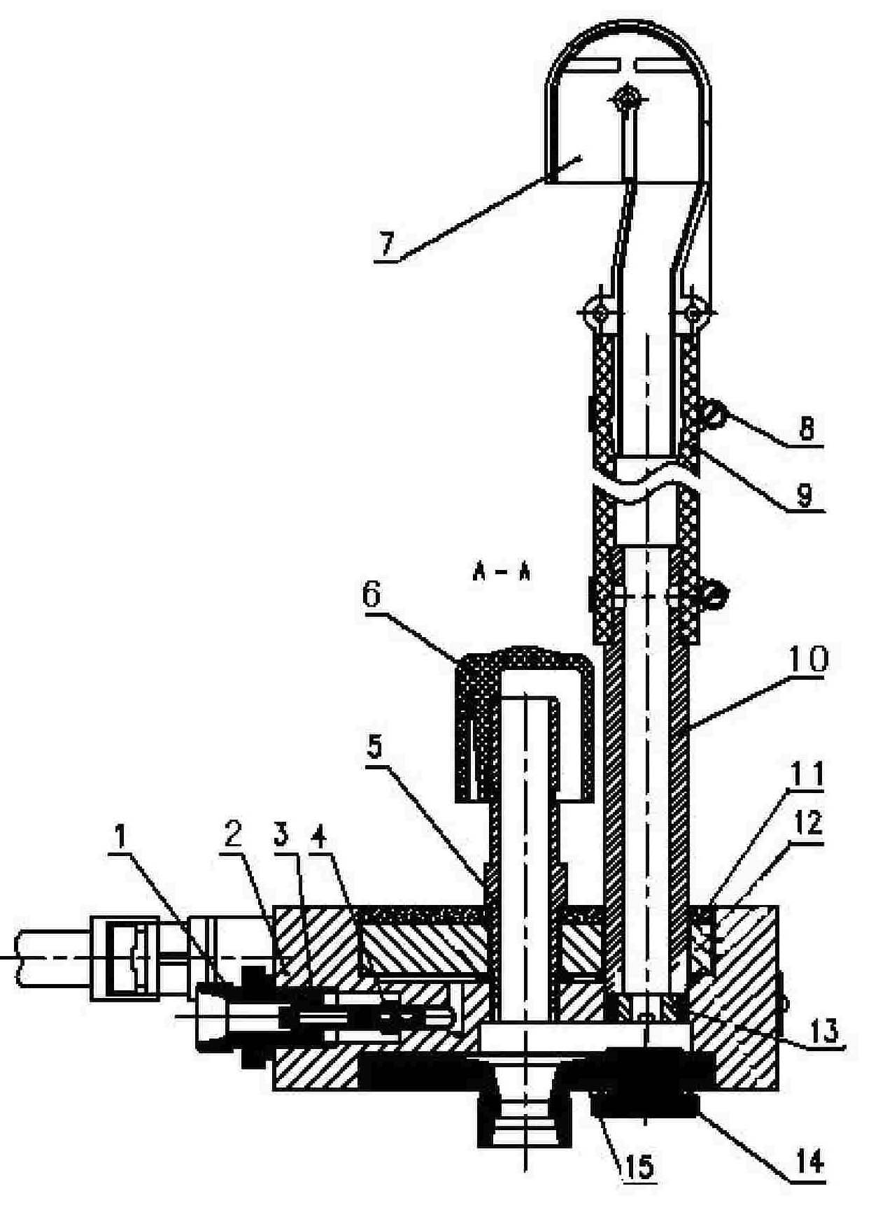
一种机车撒砂装置
图片尺寸1536x1816
四爪撒放器的制作方法
图片尺寸586x319
一种单钩式腕带撒放器
图片尺寸1724x1393
一种测力撒放器的制作方法
图片尺寸994x1000
cn2336554y_一种干粉物料撒放器失效
图片尺寸722x940
一种钳式撒放器的制作方法
图片尺寸845x1000
一种钳式撒放器的制作方法
图片尺寸1000x757
弹弓撒放器不锈钢夹弹战狼式联动握式鱼鳔全套射鱼扳机散放器户外
图片尺寸1996x1996
实用新型一种钳式撒放器授权我要购买 申请号:cn202022634358.
图片尺寸400x343
带后手定位的新式弹弓撒放器的制作方法
图片尺寸1000x951
sf100摆动式颗粒肥料抛撒肥机的工作原理与使用维护
图片尺寸951x795
双钩撒放器
图片尺寸1000x478
image
图片尺寸1000x576
一种浅海自浮式声学释放器及回收方法与流程
图片尺寸309x443
【袁桑弹弓】撒放器的由来生产组装调试 袁桑撒放效果好不好复合弓
图片尺寸964x602
双钩撒放器的制作方法
图片尺寸1000x745
image
图片尺寸1000x837