撒网的结构及原理图

渔网撒网美式抛网飞盘手抛网手撒鱼网捕鱼自动易抛网旋网厂家直销
图片尺寸750x719
撒网的标准方法
图片尺寸720x369
传统老式手撒网纯手工渔网抛网易抛王渔具洒鱼网手旋网自动
图片尺寸790x932
每次看到撒网的视频,我都忍不住感叹师傅的技巧太厉害了.
图片尺寸640x398
渔民撒网的原理是什么? - 知乎
图片尺寸587x408
日本捕鱼船,在1977年捞起"海怪"尸体,是全球最后的蛇颈龙吗?
图片尺寸877x700
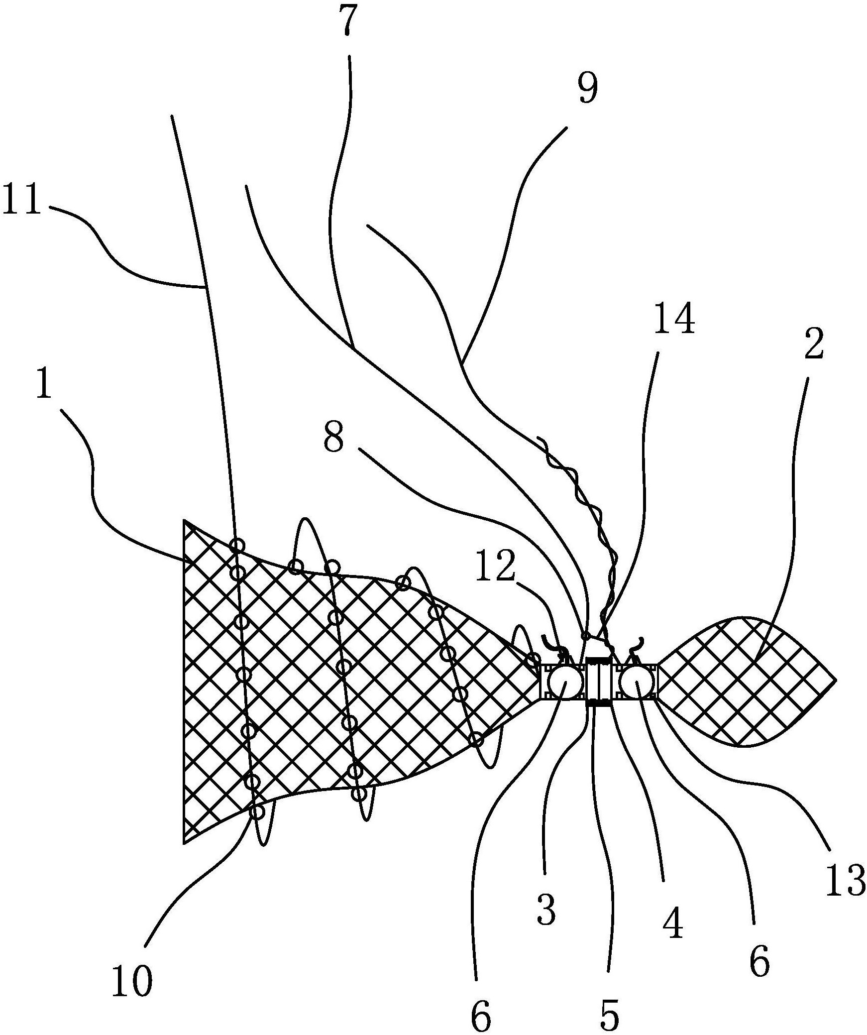
cn2927693y_一种便捷式手抛网失效
图片尺寸1551x1715
cn207151666u_飞盘型手抛网失效
图片尺寸1699x2283
一种可视的陷阱式捕鱼网的制作方法
图片尺寸771x1000
飞盘式撒网抛网手撒手抛网捕鱼网甩旋工具神铁链自动易抛网大渔网
图片尺寸800x800
揭秘渔网的工作原理,如何空中凭空捕获海量鱼群?_捕捞_目标_结构
图片尺寸1198x675
霸王捆粘鱼网抛网爆炸网渔网手撒网钓鱼网垂钓用品批发
图片尺寸1200x900
拖网类渔具概述ppt
图片尺寸1080x810
一种渔船拖网装置
图片尺寸1742x2079
双船拖网渔业
图片尺寸818x753
是时候展现真正的技术了 #纯手工大力马撒网 #喜欢吃海鲜的 - 抖音
图片尺寸1080x1440
渔悦鱼网美式撒网手抛网渔网飞盘轮胎线捕鱼网抛网撒王手撒网 轮胎线
图片尺寸790x488
一种新型抛网器的制作方法
图片尺寸1000x648
深度:曝中国水下大撒网战略 更适合捉什么核潜艇
图片尺寸550x405
单层绿色渔网丝网挂网捕鱼网粘鱼网拉网鱼网沉网鲢鱼网撒网进口丝
图片尺寸750x1132