支柱套筒式起落架

f-35b的钛合金支柱主起落架
图片尺寸800x976
我们先看看各种不同的起落架,最常见的一种起落架是支柱套筒式起落架.
图片尺寸600x355
我们先看看各种不同的起落架,最常见的一种起落架是支柱套筒式起落架.
图片尺寸377x476
max4570eei 支柱套筒式起落架的减震支柱
图片尺寸418x234
一种简易型套筒支柱式起落架
图片尺寸342x443
ma700飞机主起落架落震验证试验件顺利交付
图片尺寸600x775
单人高空操作方形套筒式升降机gtwy6-10
图片尺寸850x800
塔式起重机安全培训课件
图片尺寸2816x2112
飞机结构与系统,航空器结构,飞机设计与制造专业课程 支柱套筒起落架
图片尺寸1080x810
为何现代飞机几乎都采用支柱套筒式起落架,它有哪些优势和不足呢-军事
图片尺寸658x370
减震器与承力支柱合成一体的摇臂式起落架(见图4.
图片尺寸407x276
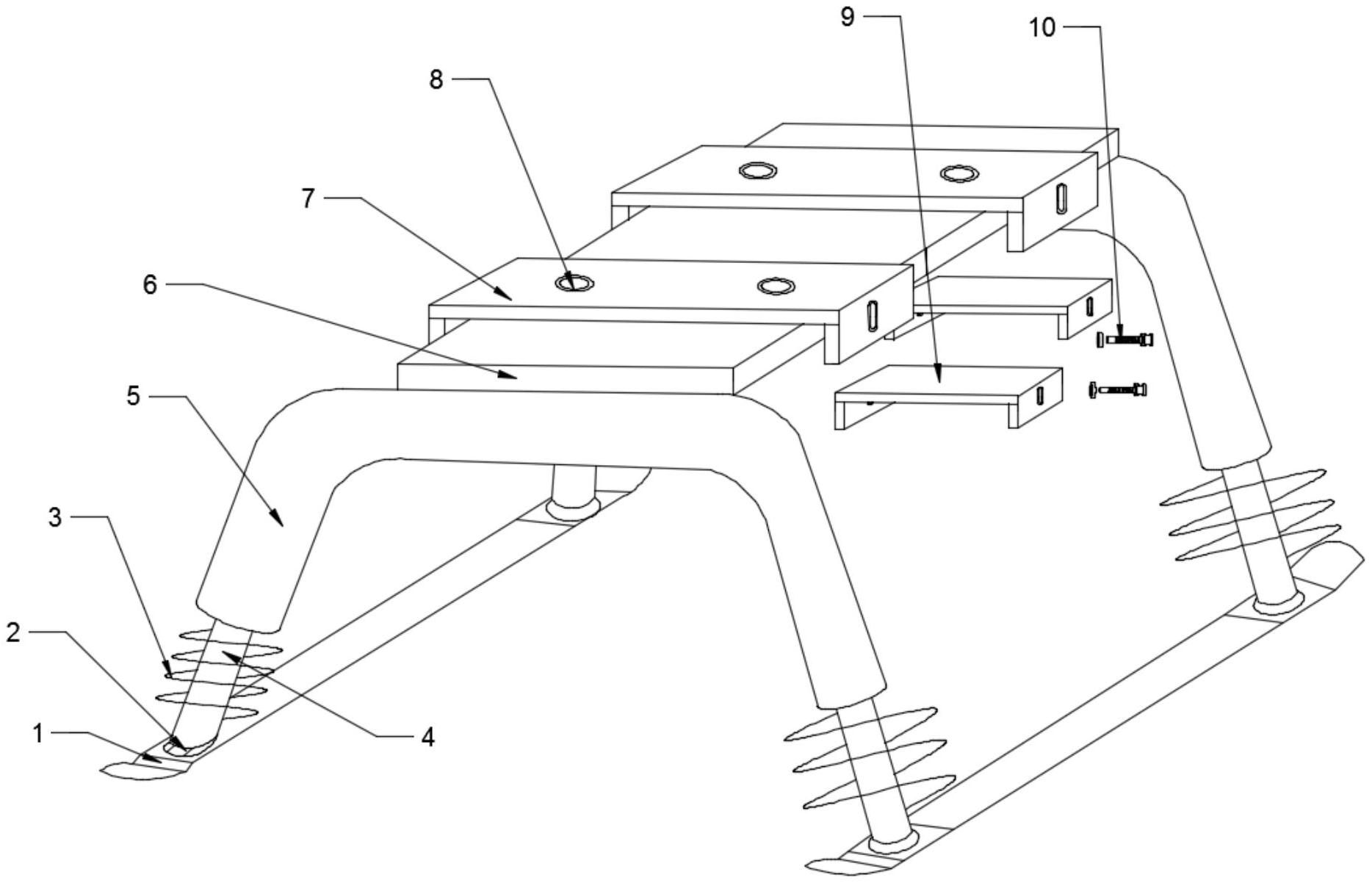
具体是一种无人机用快拆式起落架,包括滑架,套筒以及横板,所述滑架上
图片尺寸1868x1202
套筒式升降机
图片尺寸430x430
一种无人机起落架-爱企查
图片尺寸1868x1026
直埋式地埋管道套筒波纹补偿器法兰连接
图片尺寸595x699
起落架,上支架上端通过固定轴连接机体,上支架下端通过套筒连接下支架
图片尺寸1393x1427
桅柱式高空作业平台_套筒式升降机_移动登高车_中建锦程机械设备(上海
图片尺寸365x274
国内外采用3d打印直接制造飞机起落架的技术和材料
图片尺寸800x534
套筒式高空作业平台
图片尺寸385x375
lp欧比护踝l型硅胶垫片加压护踝729 套筒式支撑护脚踝关节护具 单只
图片尺寸800x800