散热装置

一种新型笔记本电脑cpu散热装置
图片尺寸689x419
散热装置
图片尺寸1824x2213
升级防雨型太阳能风冷散热器太阳能热水系统散热装置60kw80kw大量出
图片尺寸1000x627
散热装置(heat exchanger)
图片尺寸500x453
cn213124561u_一种锂电池用散热装置
图片尺寸1819x1109
一种复合式m2硬盘散热装置
图片尺寸1899x809
散热装置
图片尺寸1565x2512
三轮车摩托车汽车微型车水箱风扇水冷散热器水箱水冷散热装置
图片尺寸960x960
u型散热装置
图片尺寸1000x777
一种交流传动控制柜的散热装置专利.#带你游云南 #知识前沿派 - 抖音
图片尺寸1024x1024
散热装置
图片尺寸1260x933
三轮车摩托车汽车微型车水箱风扇水冷散热器水箱水冷散热装置
图片尺寸800x800
一种散热装置
图片尺寸1000x735
散热装置和散热系统
图片尺寸1000x803
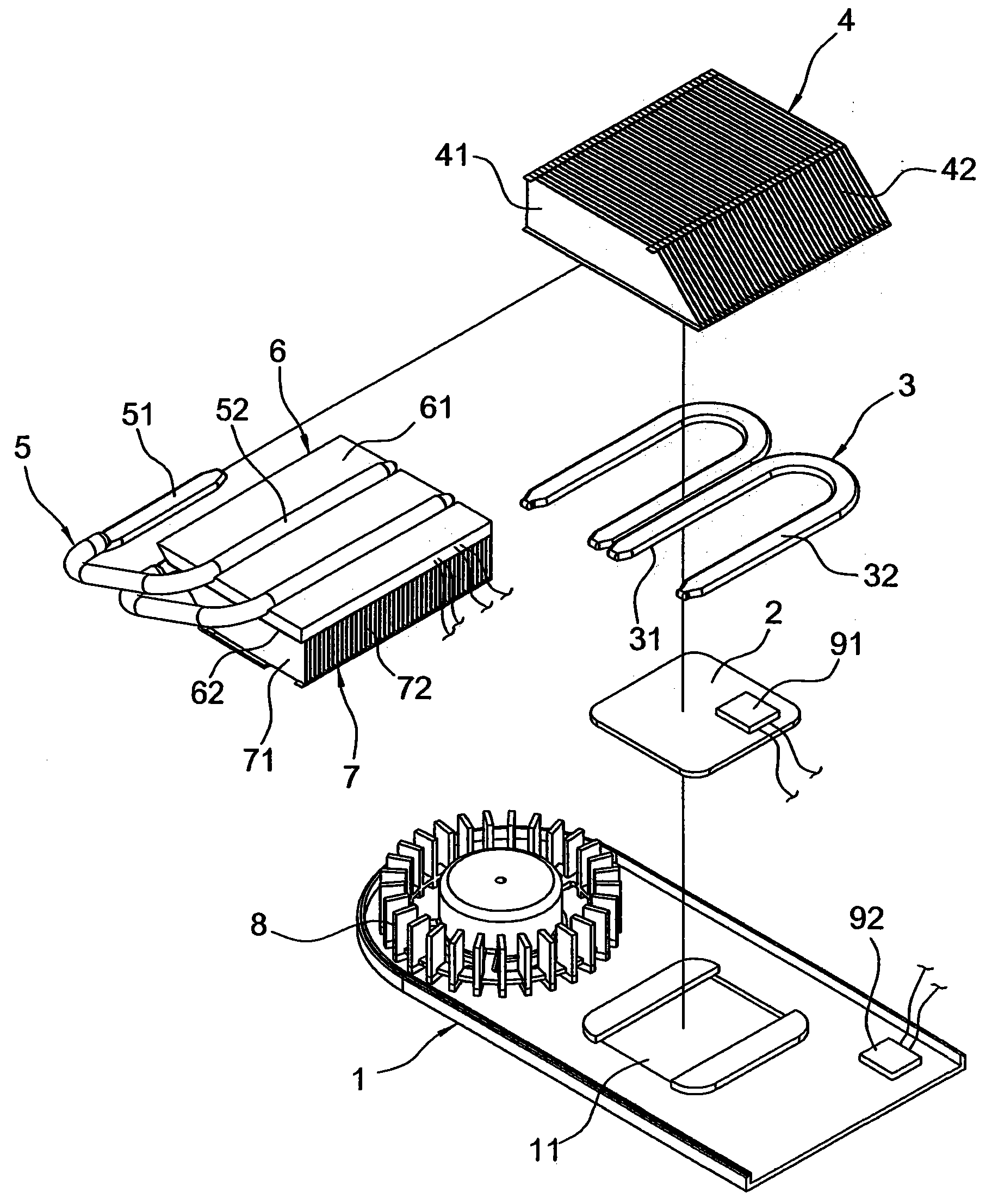
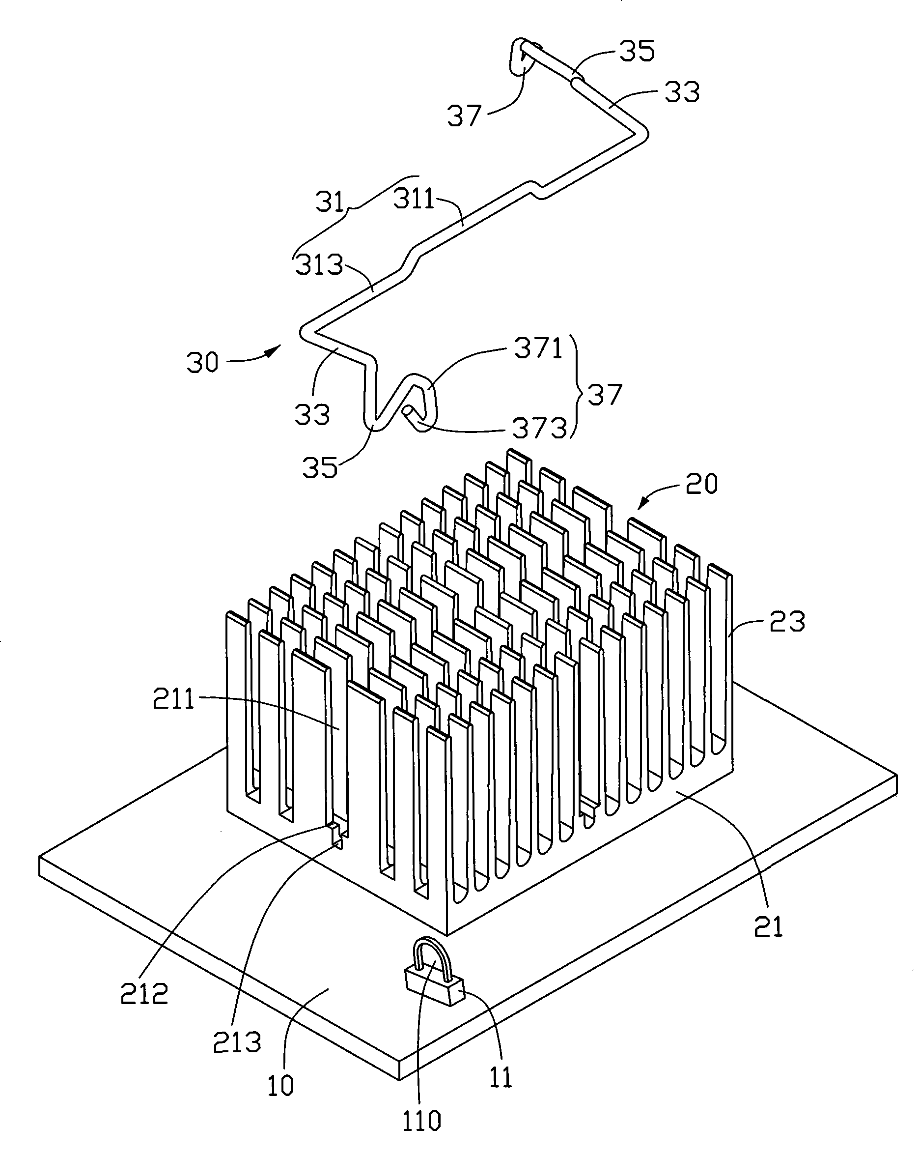
散热装置组合
图片尺寸1871x2348
三轮车摩托车汽车微型车水箱风扇水冷散热器水箱水冷散热装置
图片尺寸480x480
三轮车摩托车汽车微型车水箱风扇水冷散热器水箱水冷散热装置专用
图片尺寸500x500
全套制冷套件 半导体制冷片散热装置 diy 散热器 不带制冷片 散热器
图片尺寸728x693
三轮车摩托车配件汽车微型车水箱风扇水冷散热器水箱水冷散热装置
图片尺寸800x800
一种公路机电用辅助散热装置的制作方法
图片尺寸1000x588