文丘里混合器设计标准

cn213078080u_一种分散扰流的文丘里混合器
图片尺寸1656x665
文丘里式燃气混合器的制作方法与工艺
图片尺寸483x392
upvc射流器 文氏管 文丘里 塑料水射器 喷射器 施肥器 气水混合器
图片尺寸750x1061
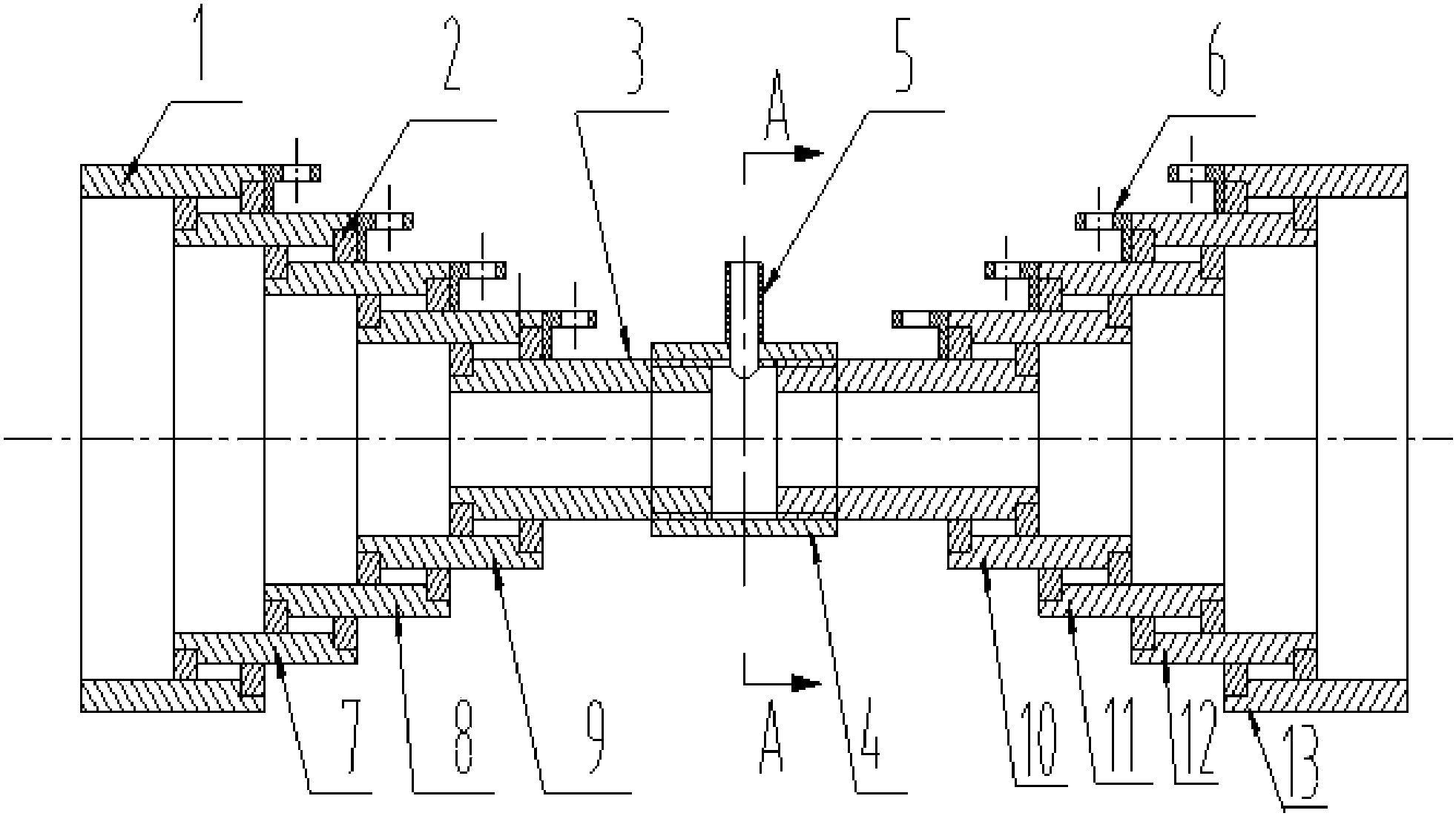
一种轴向可伸缩的阶梯形文丘里混合器
图片尺寸1963x1100
2,喷射混合器结构图1,文丘里混合器结构形式一,结构
图片尺寸620x283
汽水混合器(文丘里式)
图片尺寸442x220
cn205146015u_一种混合均匀的阶梯型文丘里混合器失效
图片尺寸1854x812
文丘里施肥器汽水混合器pp加药耐高温气液喷射射流器4分外丝耐腐
图片尺寸800x800
一种轴向可伸缩的阶梯形组合式文丘里混合器制造技术
图片尺寸1000x563
文丘里混合器
图片尺寸355x230
文丘里混合器
图片尺寸428x309
汽水混合器(文丘里式)
图片尺寸671x427
文丘里洗涤器图纸
图片尺寸509x722
upvc射流器文氏管水泵文丘里塑料管道水射器射水器气液混合器4分外
图片尺寸990x779
一种喉部含有对称分布引入管的文丘里混合器
图片尺寸1491x672
cn206560800u_一种改变管道阻力特性的新型文丘里混合器失效
图片尺寸1000x410
一种多孔孔板促进混合效果的文丘里混合器制造技术
图片尺寸1000x516
cn104028132a_一种喉部含有对称分布引入管的文丘里混合器有效
图片尺寸1000x448
特价促销 有机玻璃射流器 文丘里射流器 水射器也称气液混合器
图片尺寸661x342
一种燃气开度可调式文丘里混合器的制作方法
图片尺寸415x444