料仓制作分解图

料仓含图纸
图片尺寸820x581
一种煤粉储料仓
图片尺寸1711x1978
方锥形周转料斗
图片尺寸750x900
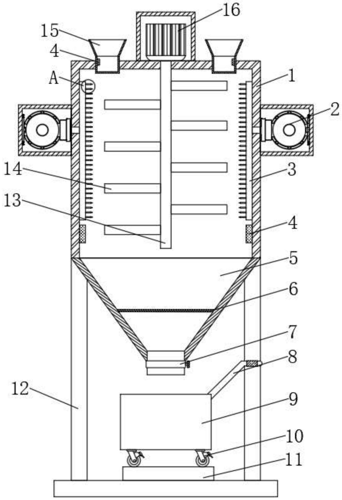
立式混料仓剖视图图纸参数图纸id: 1024235图纸格式
图片尺寸565x760
一种混凝土粉料仓的制作方法
图片尺寸1000x724
cn213386682u_一种抽屉式料仓有效
图片尺寸2232x1747
一种石灰粉搅拌料仓制造技术
图片尺寸890x1000
稀浆封层车料仓的制作方法
图片尺寸564x420
饲料储料仓设计2d图机械cad素材
图片尺寸885x824
一种搅拌料仓的制作方法
图片尺寸358x479
一种氯化胆碱晶体生产专用高位包装料仓
图片尺寸1310x1915
一种便于下料的储料仓的制作方法
图片尺寸1000x755
石灰料仓图纸
图片尺寸820x600
料仓结构
图片尺寸741x519
一种滑架式干污泥储存料仓专利_专利申请于2020-08
图片尺寸1548x1552
一种防堵助流松散介质料仓专利_专利申请于2008-01
图片尺寸1200x1525
本实用新型涉及一种污泥筛分返料料仓,能够对干化后
图片尺寸1925x1358
100吨料仓设计图
图片尺寸1200x900
文档下载 所有分类 工程科技 机械/仪表 > 原材料仓
图片尺寸1202x752
摘要附图摘要本实用新型提供一种新型石灰料仓,包括
图片尺寸578x799