断气自锁气缸结构图

qgbf-l-200*500-s-mf1-y-150 qgbf-l-250*500-s-mf1-y自锁气缸
图片尺寸900x1138
气缸内部结构图,气缸结构组成详细介绍
图片尺寸575x277
气缸结构图
图片尺寸893x1263
群众中有高手,有读者提出先导式单向阀也能实现气缸断气保护
图片尺寸640x578
求锁止气缸的工作原理?
图片尺寸450x223
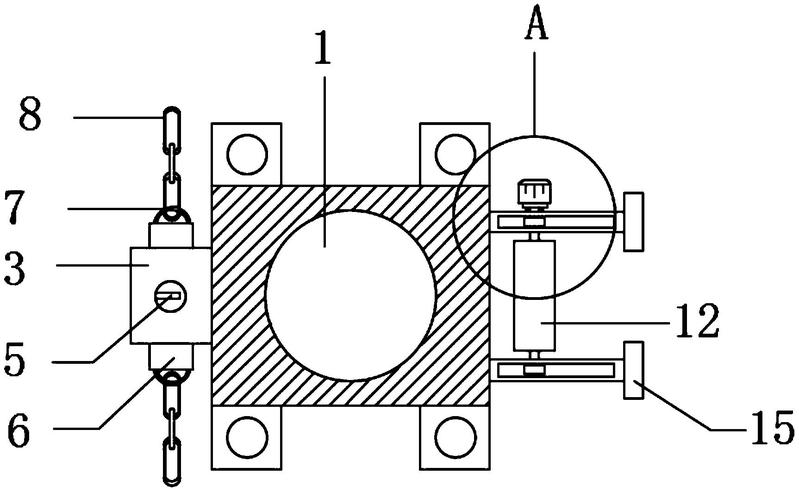
夹具三轴缸自锁标准机构,所述底座顶部设有立柱,所述立柱一侧设有气缸
图片尺寸1970x2188
自锁气缸的制作方法
图片尺寸1000x788
侧推自锁气缸sccjld20-3 25-4 bd20-3 bd25-4气动元件厂家直销
图片尺寸782x549
一种具有双自锁结构的气缸-爱企查
图片尺寸573x367
气缸的结构是怎样的
图片尺寸724x382
cn202338527u_自锁式气缸有效
图片尺寸408x231
一种内外活塞自锁气缸制造技术
图片尺寸1000x724
气缸强力自锁机构图
图片尺寸820x682
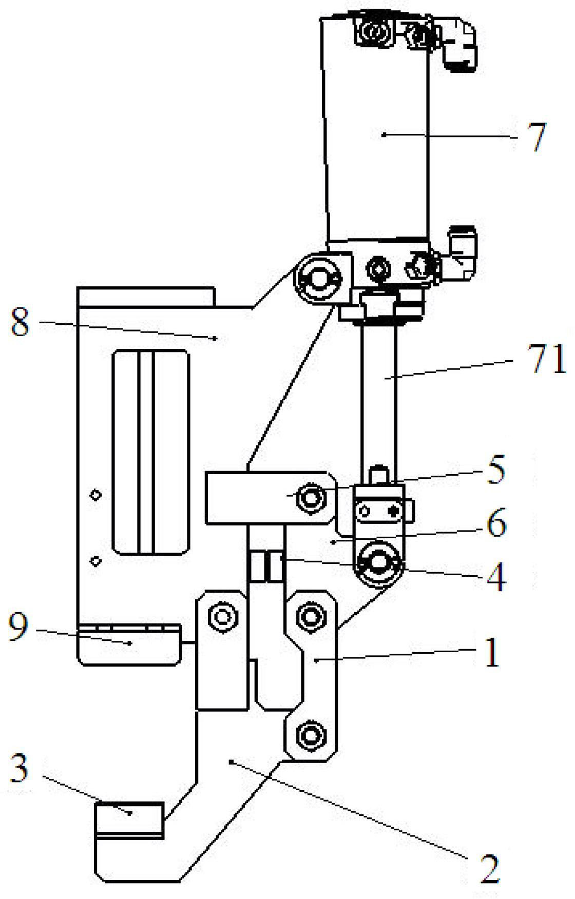
摘要附图摘要本实用新型涉及一种线性缸机械式自锁夹紧机构,包括气缸
图片尺寸1120x1752
smc气缸概述ppt
图片尺寸1080x810
一种阻尼型气缸的制作方法
图片尺寸1000x774
一种机械自锁油缸的制作方法
图片尺寸443x342
一种具有双自锁结构的气缸-爱企查
图片尺寸799x492
一种具有双自锁结构的气缸的制作方法
图片尺寸574x367
气缸特点1,带曲柄连杆机构的一体式夹紧器(肘形原理)2,自锁结构3,采用
图片尺寸556x481