方向盘连接杆结构图

传动连杆好像漏油
图片尺寸504x300
转向操纵机构由方向盘,转向轴,转向管柱等组成,它的作用是将驾驶员
图片尺寸1434x734
背景技术:方向盘通过花键与转向轴连接,其功能是将驾驶员作用到转向盘
图片尺寸1000x719
万向轴:连接在两个轴之间,在一定范围内可任意改变两轴间的传动角度.
图片尺寸660x440
双方向盘转向系统操纵机构的制作方法
图片尺寸808x1000
包括方向盘握把,所述方向盘握把的内部固定连接有连接杆,所述连接杆的
图片尺寸1788x2086
方向柱下面还连着方向机,方向机还得通过转向连杆连接到两侧悬架,悬架
图片尺寸1080x720
十年磨一剑,说说五连杆的前世今生,奥迪宝马车好开不是吹出来的
图片尺寸481x326
球头48820-02100 丰田转向拉杆 平衡杆 连接杆 球头-阿里巴巴
图片尺寸1920x1920
1-进油管;2-回油管;3-阀体罩壳;4-密封圈;5-轴承;6-转向齿轮;7-连接盖
图片尺寸420x342
起步咯噔一声异响如何更换汽车转向连杆球头
图片尺寸447x264
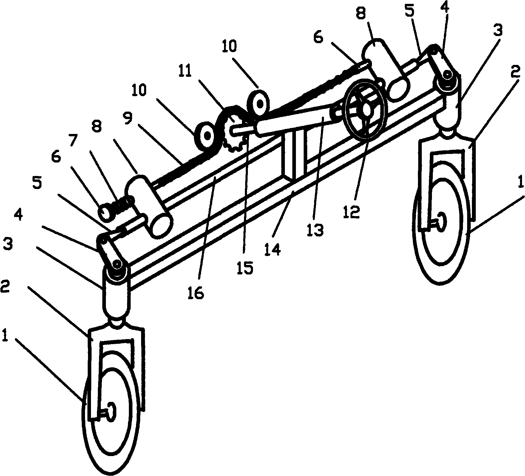
盘,一个链齿,一个方向轴套,一个方向轴,二个压轮,一个链条,二个连接杆
图片尺寸1760x1599
各位车友们,你们的爱车方向盘连接杆那里容易生锈吗?
图片尺寸800x1067
包括外壳,方向盘组件,连杆组件,限位组件及移动连接杆组件,连杆组件及
图片尺寸746x800
转k7型转向架结构组成简介
图片尺寸893x380
一种用于电动车的连杆转向机构的制作方法
图片尺寸929x1000
各位车友们,你们的爱车方向盘连接杆那里容易生锈吗?
图片尺寸800x1067
它实质上增加了转向变化,使前轮比方向盘移动得更快.
图片尺寸449x341
采用了轴前转向结构,将负责带动前轮的转向拉杆布置于轮心前,更充分地
图片尺寸1080x608
一汽解放系列华驰厂家供应货车转向传动轴连接杆方向机传动滑动叉
图片尺寸750x750